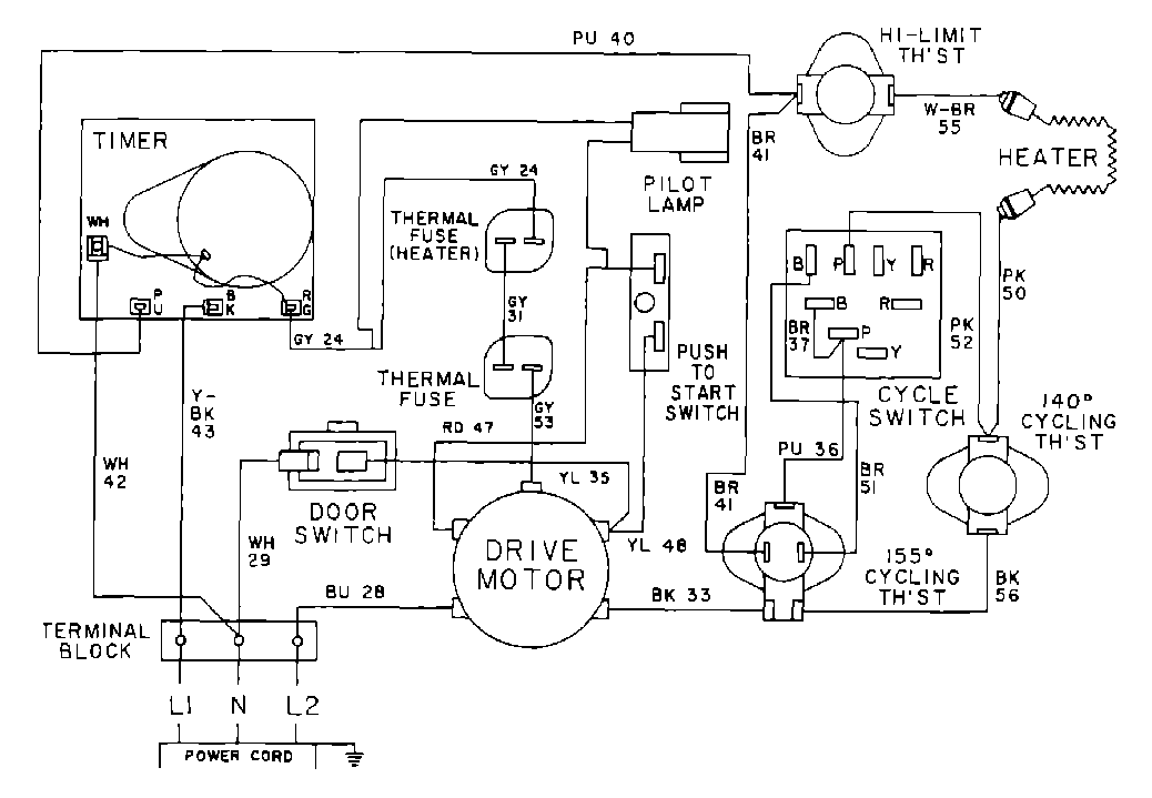
MDE10MNADW 08 – WIRING INFORMATIONadmin2025-04-26T10:06:28+00:00MDE10MNADW 08 – WIRING INFORMATION ProductsPositionProduct001DOWEL PIN FOR HANDLE