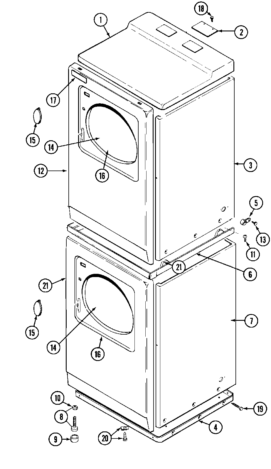
MDE11CSADW 03 – FRONT