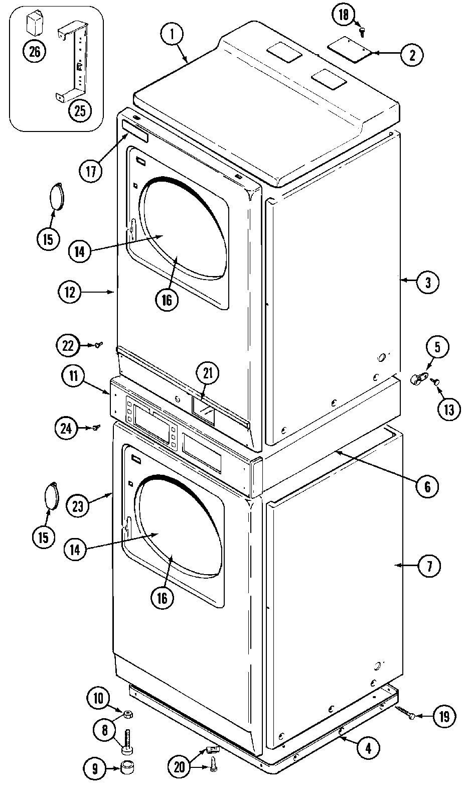
MDE11PDACW 02 – FRONT