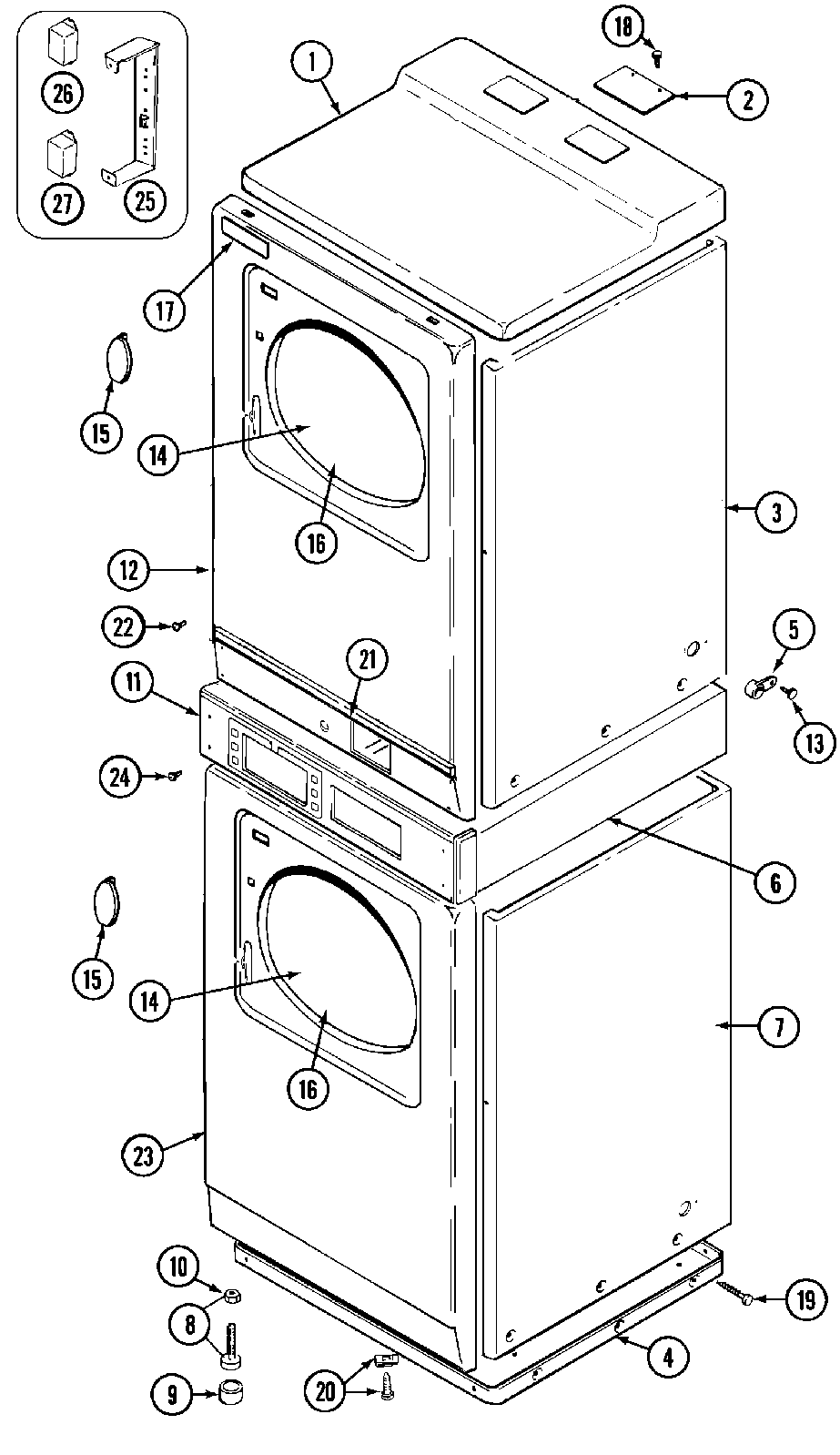
MDE11PDAGL 02 – FRONT