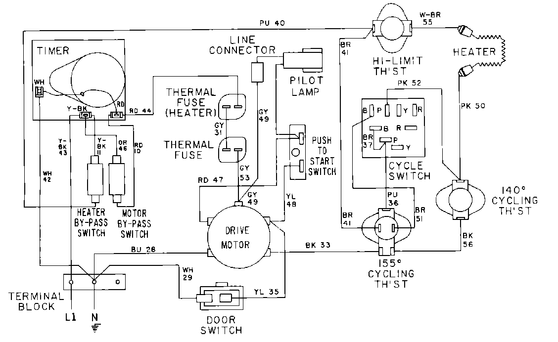
MDE12CSAGW 07 – WIRING INFORMATIONadmin2025-04-26T10:11:27+00:00MDE12CSAGW 07 – WIRING INFORMATION ProductsPositionProduct001DOWEL PIN FOR HANDLE