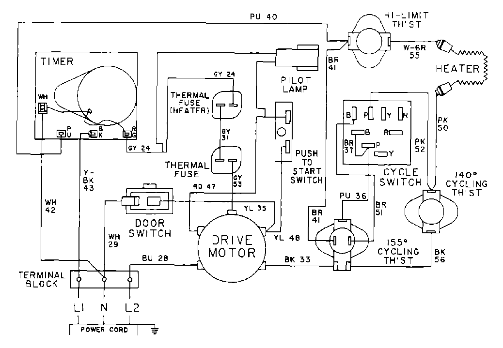
MDE12MNADW 08 – WIRING INFORMATIONadmin2025-04-26T10:09:48+00:00MDE12MNADW 08 – WIRING INFORMATION ProductsPositionProduct001DOWEL PIN FOR HANDLE