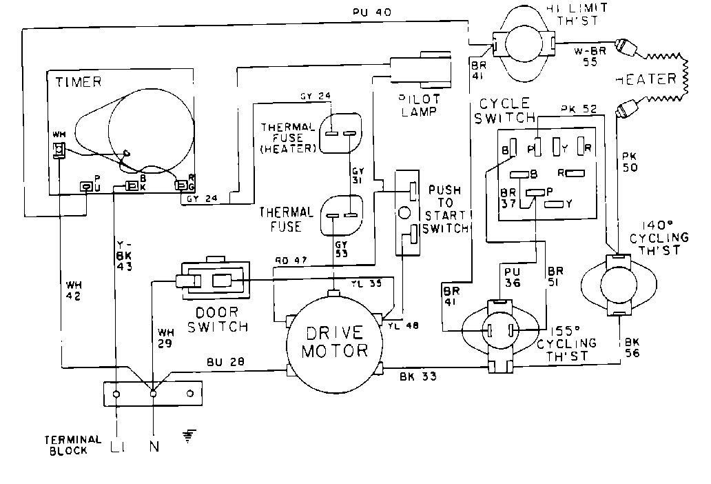
MDE12MNAGW 08 – WIRING INFORMATIONadmin2025-04-26T10:07:54+00:00MDE12MNAGW 08 – WIRING INFORMATION ProductsPositionProduct001DOWEL PIN FOR HANDLE