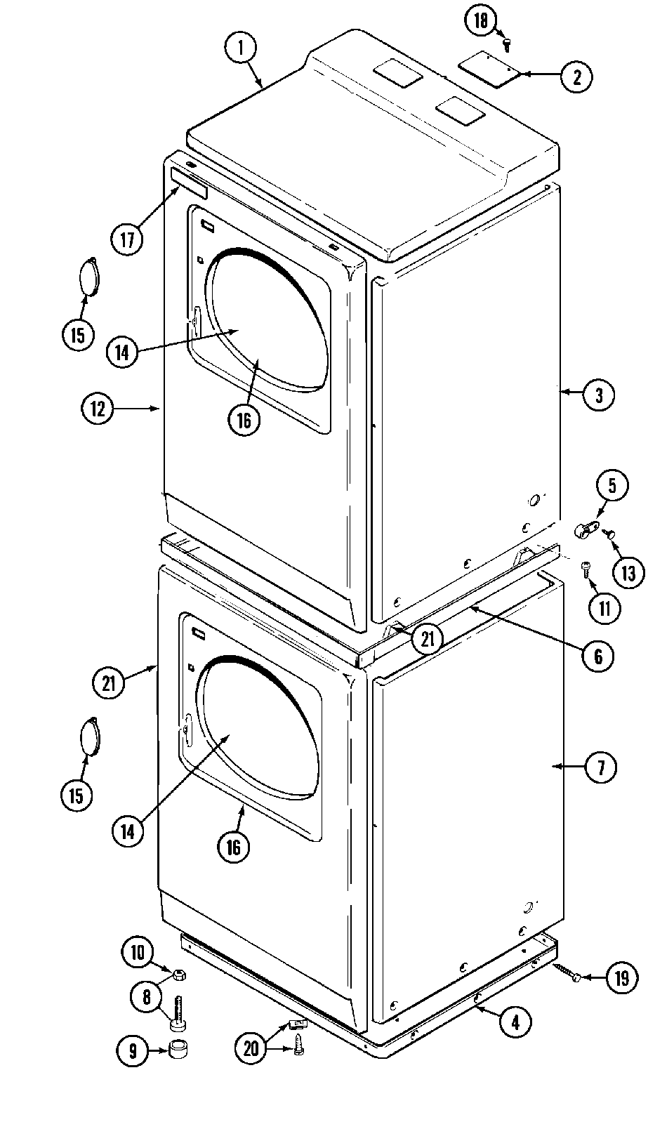
MDE13CSACW 03 – FRONT