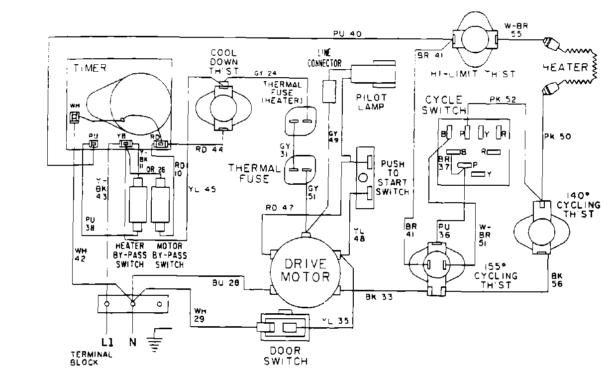
MDE13CSAKL 09 – WIRING INFORMATIONadmin2025-04-26T10:07:35+00:00MDE13CSAKL 09 – WIRING INFORMATION ProductsPositionProduct001DOWEL PIN FOR HANDLE