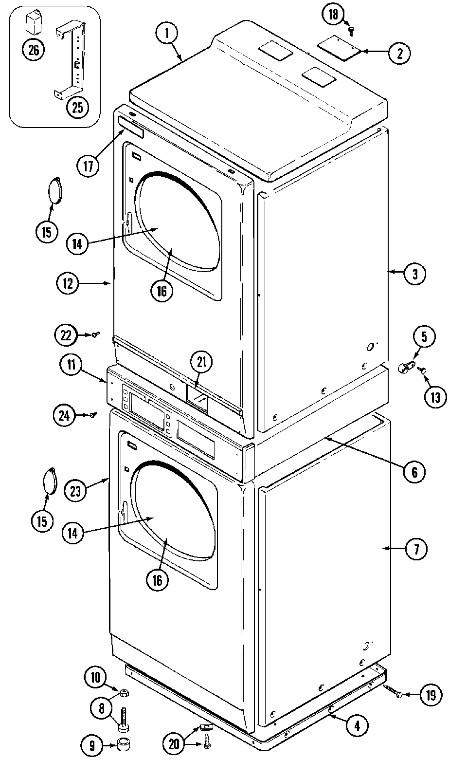
MDE13PDACL 02 – FRONT