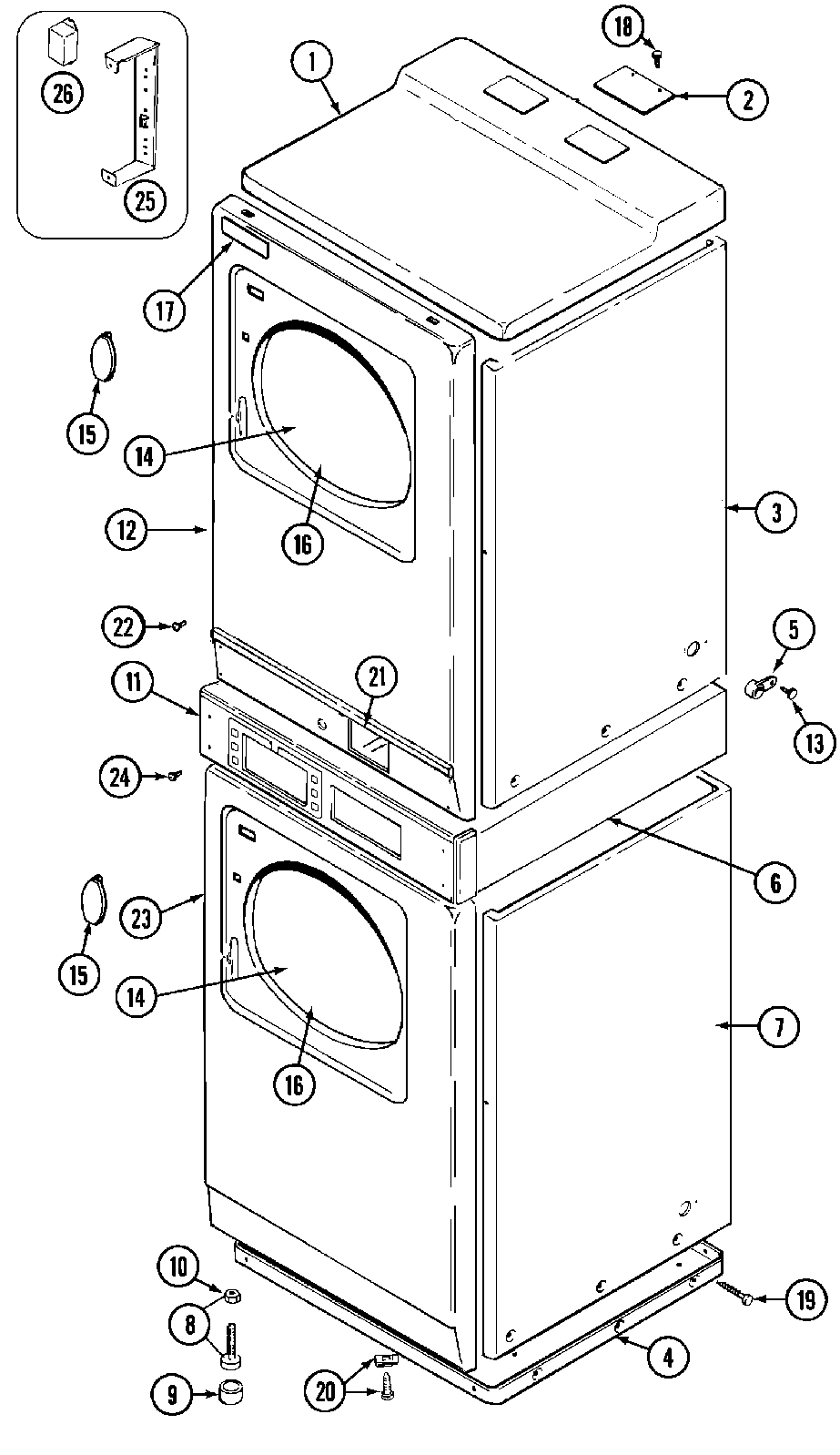
MDE13PDADW 02 – FRONT