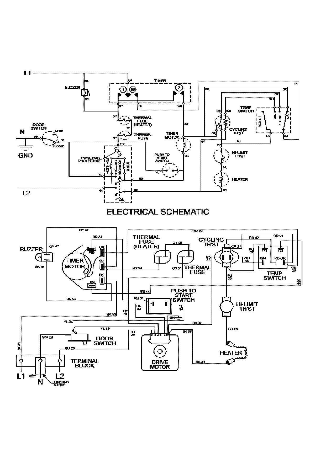
MDE2300AYW 08 – WIRING INFORMATIONadmin2025-04-26T09:57:53+00:00MDE2300AYW 08 – WIRING INFORMATION ProductsPositionProductNIMAY 15003037