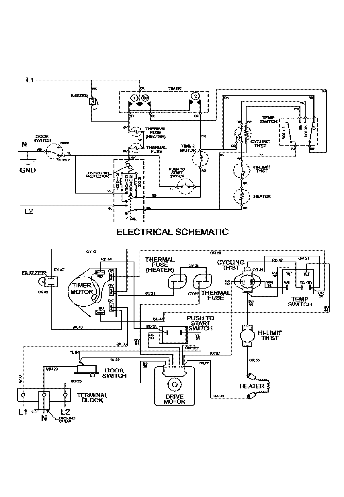
MDE2301AYW 08 – WIRING INFORMATIONadmin2025-04-26T09:57:46+00:00MDE2301AYW 08 – WIRING INFORMATION ProductsPositionProductNIMAY 15003037