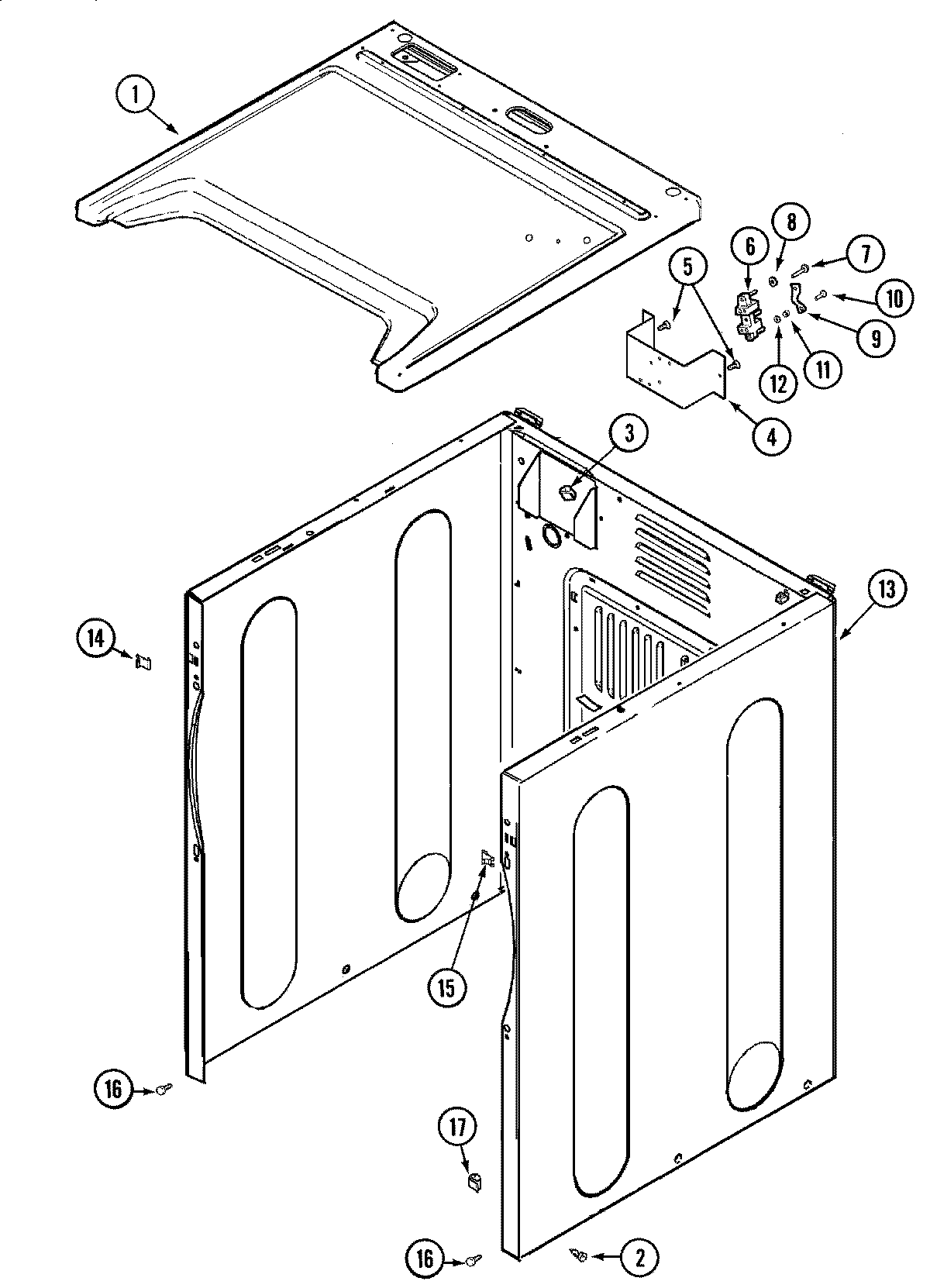
MDE3600AYW 01 – CABINET