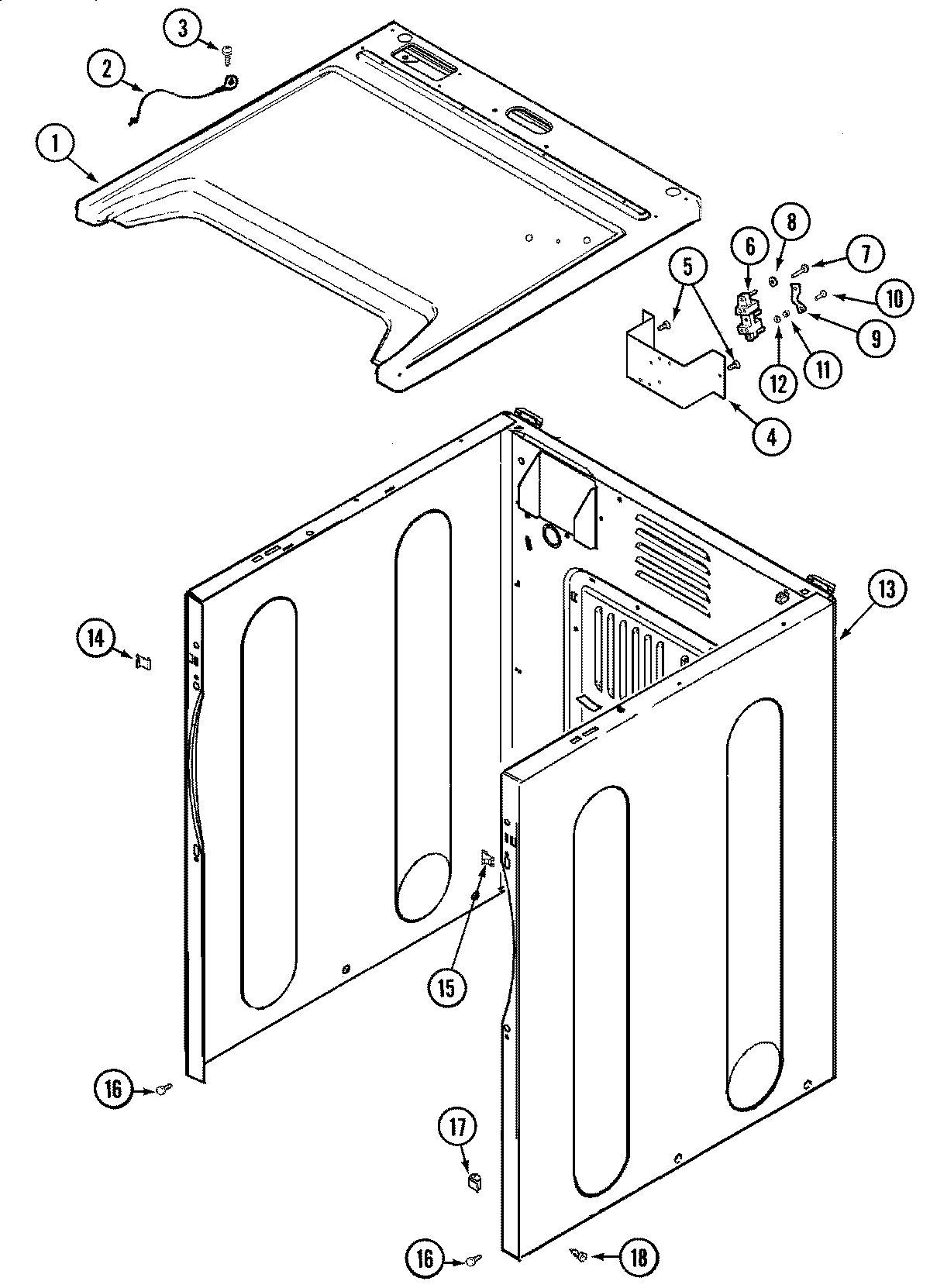
MDE9390AYW 01 – CABINET