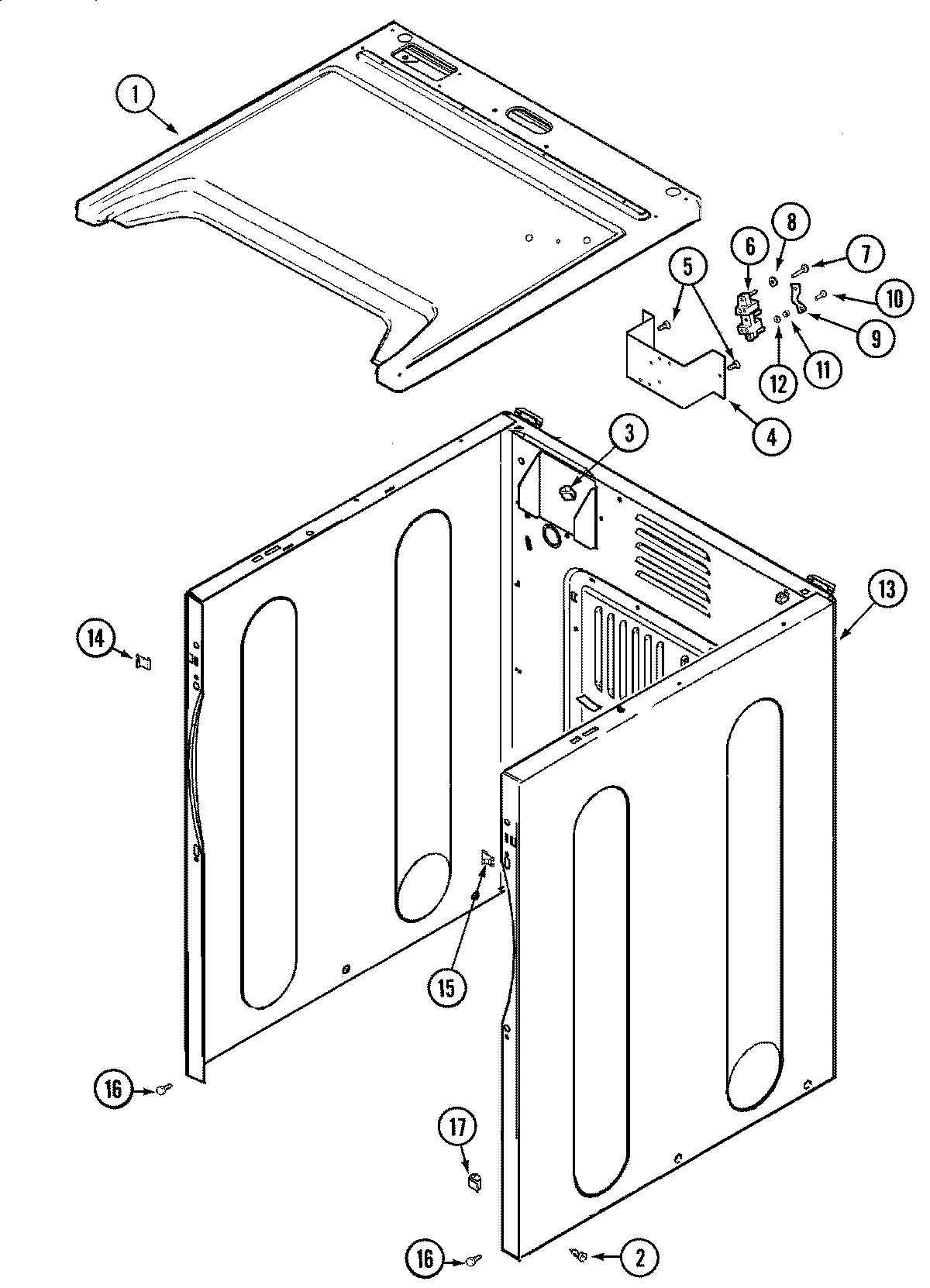
MDE9520AYW 01 – CABINET