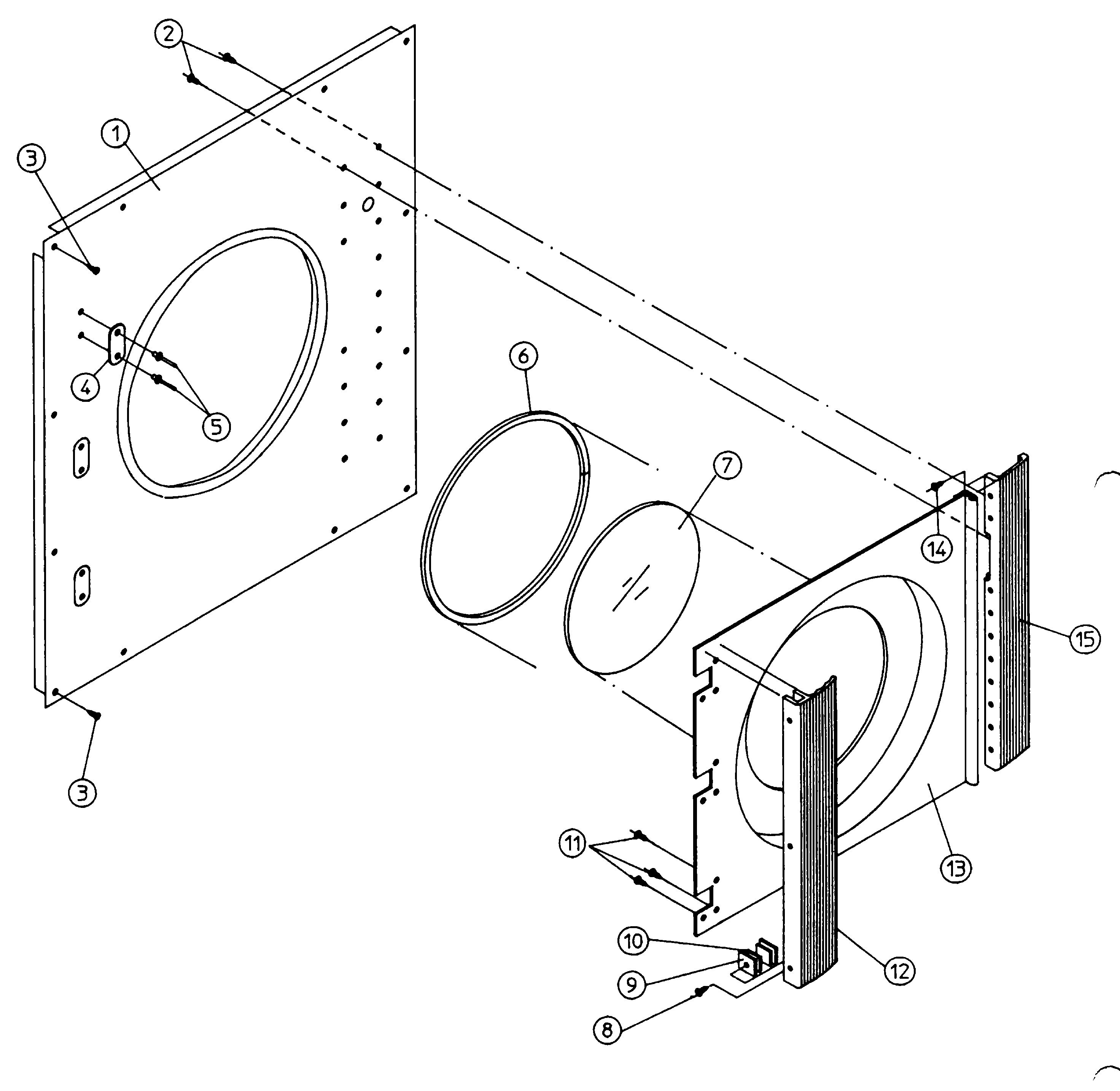
MDG100PN1 04 – FRONT PANEL/MAIN DOOR ASSEMBLIES
Products
| Position | Product |
|---|---|
| 000 | NOT REQUIRED PART OR SEE NOTE FUSE (NOT REQUIRED) |
| 001 | MAY A800349 |
| 002 | MAY A150402 |
| 004 | MAY A170340 |
| 005 | MAY A154200 |
| 006 | MAY A102308 |
| 007 | MAY A102210 |
| 008 | MAY A150401 |
| 009 | MAY A306801 |
| 010 | MAY A102100 |
| 011 | MAY A150415 |
| 012 | MAY A170201 |
| 013 | MAY A800122 |
| 013 | MAY A800112 |
| 013 | MAY A800110 |
| 014 | MAY A150430 |
| 015 | ADHESIVE, MOUNTING |
| 015 | MAY A170210 |