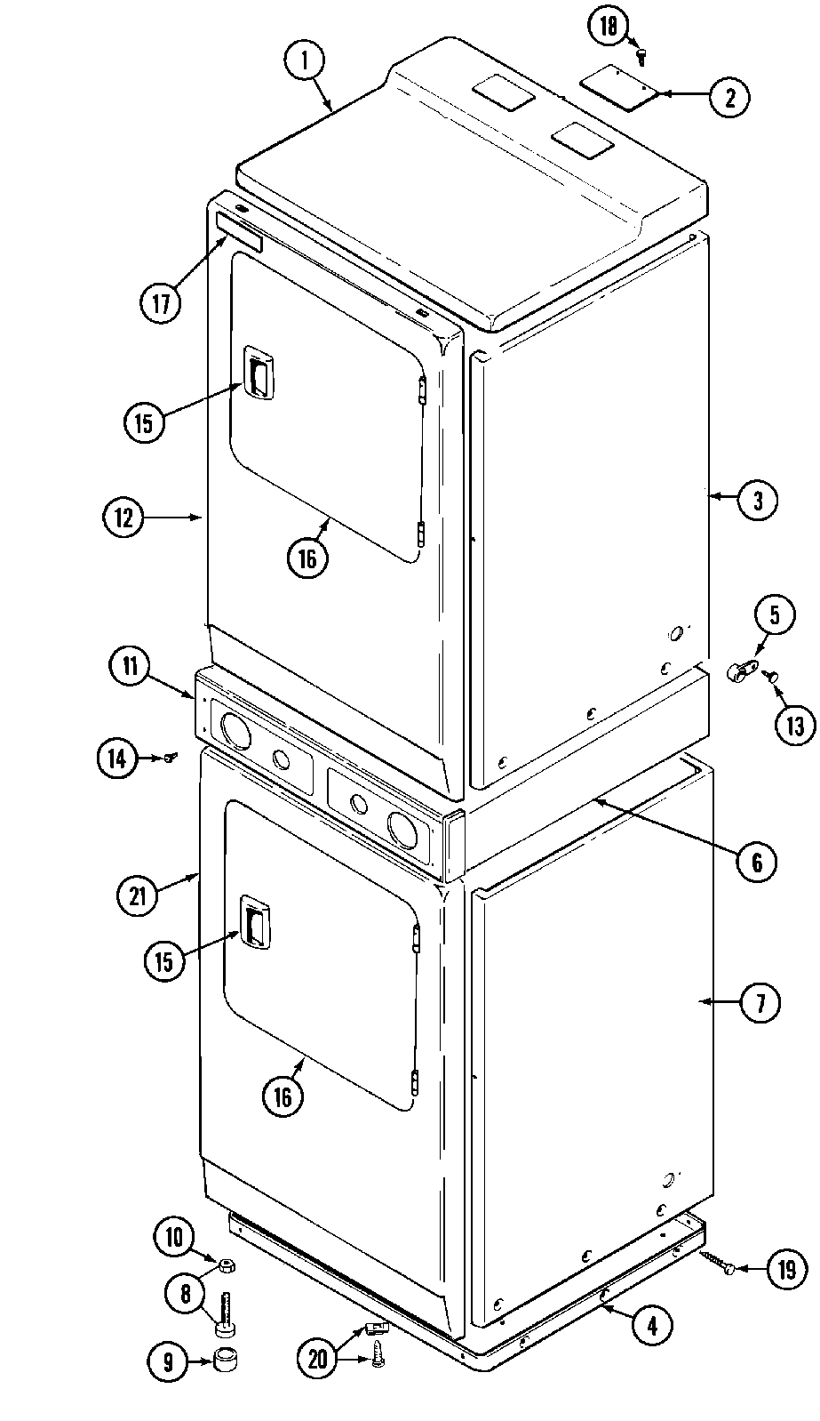
| 001 | MAY 33001165 |
| 004 | MAY 306530 |
| 004 | MAY Y307482 |
| 005 | CABLE STRAP-HARNESS TO BASE |
| 006 | MAY 314663 |
| 006 | MAY 911050 |
| 006 | MAY Y310632 |
| 008 | LEG, ADJUSTABLE (W/NUT)---S |
| 009 | WP210684 Whirlpool Dishwasher Leveling Leg Pad |
| 010 | WP210385 Whirlpool Lock Nut |
| 013 | WPW10139210 Whirlpool Screw |
| 014 | WPW10131119 Whirlpool Screw |
| 016 | MAY 33001240 |
| 018 | MAY Y313559 |
| 019 | 213007 Whirlpool Screw #12 |
| 020 | SCREW & FSTNER ASSY (FT. PNL) |
| 021 | DOWEL PIN FOR HANDLE |