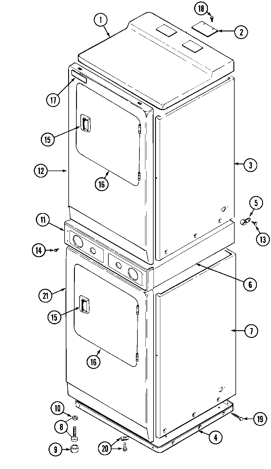
MDG11MNEGW 02 – FRONT