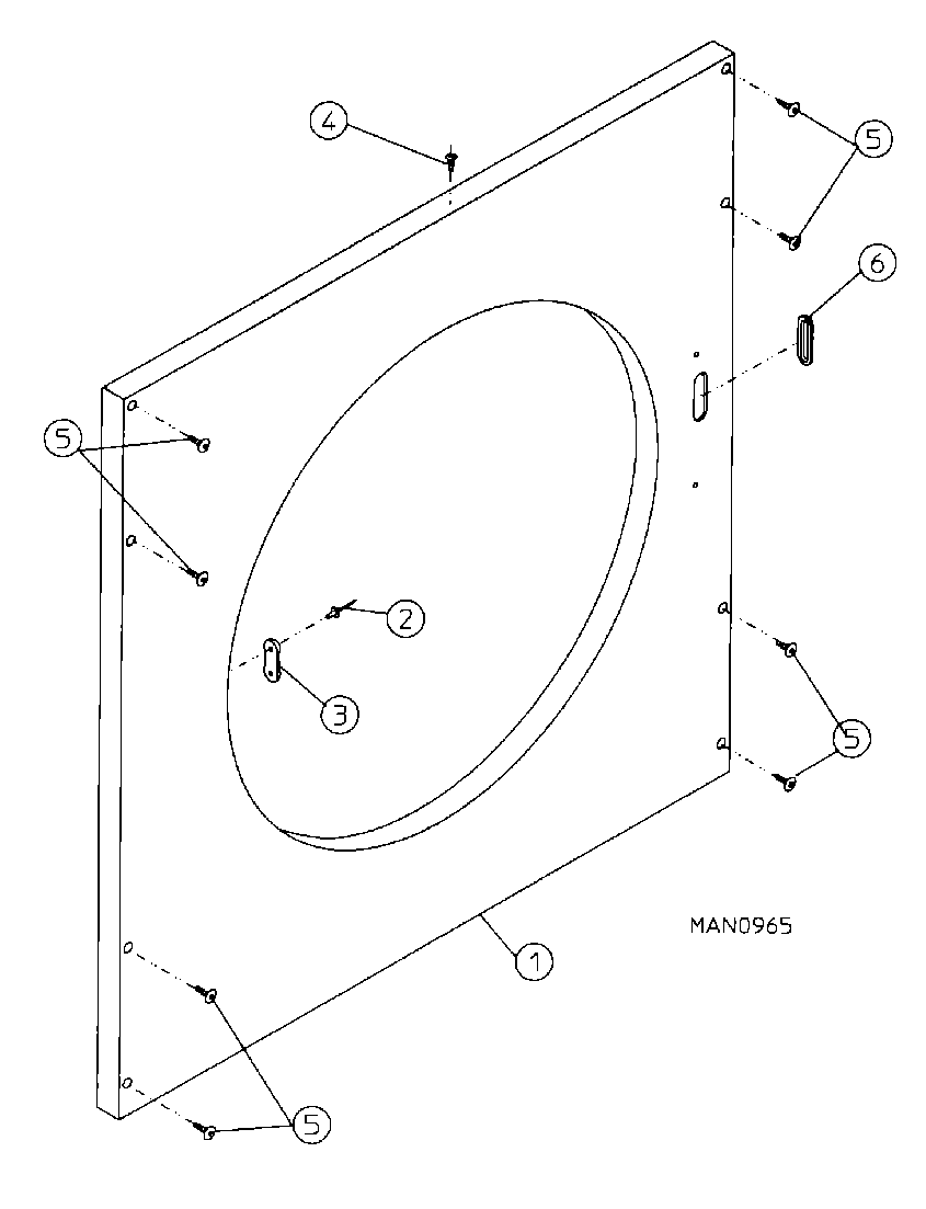
MDG30PC2AL 08 – CABINET – FRONT PANEL ASSEMBLY (PC2)
Products
| Position | Product |
|---|---|
| 000 | NOT REQUIRED PART OR SEE NOTE FUSE (NOT REQUIRED) |
| 001 | MAY A154215 |
| 002 | MAY A875300 |
| 003 | MAY A170330 |
| 004 | MAY A150300 |
| 005 | MAY A150415 |
| 005 | MAY A150313 |
| 006 | GROMMET, RUBBER |
MDG30PC2AL 08 – CABINET – FRONT PANEL ASSEMBLY (PC2)
| Position | Product |
|---|---|
| 000 | NOT REQUIRED PART OR SEE NOTE FUSE (NOT REQUIRED) |
| 001 | MAY A154215 |
| 002 | MAY A875300 |
| 003 | MAY A170330 |
| 004 | MAY A150300 |
| 005 | MAY A150415 |
| 005 | MAY A150313 |
| 006 | GROMMET, RUBBER |