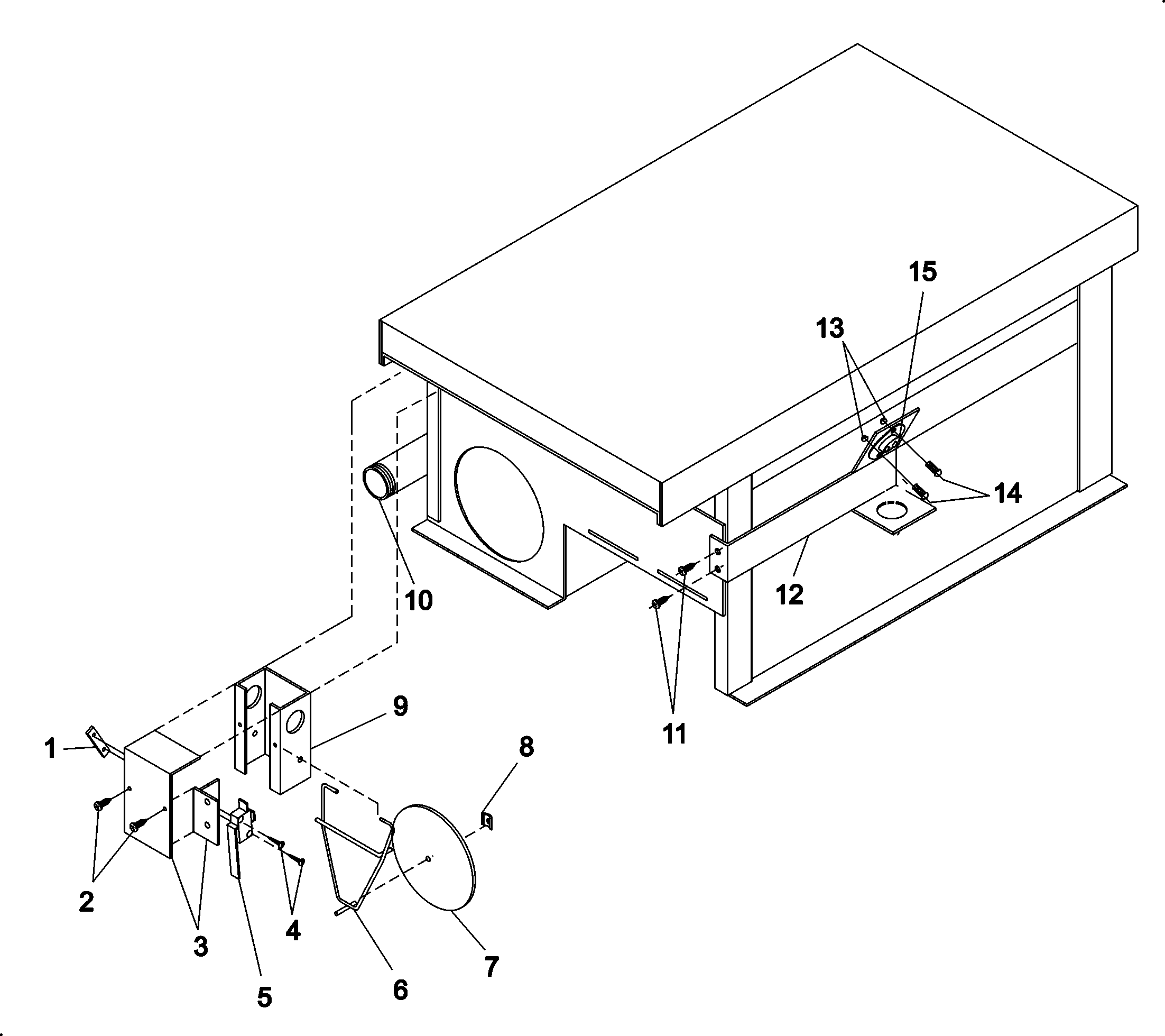
MDG30PCCWQ 14 – SAIL SWITCH/HI-LIMIT
Products
| Position | Product |
|---|---|
| 001 | MAY A154004 |
| 003 | MAY A802799 |
| 004 | MAY A150303 |
| 005 | MAY A122200 |
| 006 | MAY A105500 |
| 007 | MAY A319202 |
| 008 | MAY A154002 |
| 009 | MAY A802800 |
| 009 | BOX, SAIL SWITCH ASSY |
| 010 | MAY A142809 |
| 011 | MAY A150300 |
| 012 | MAY A319704 |
| 013 | MAY A151000 |
| 014 | MAY A150001 |
| 015 | HI-LIMIT (330 DEG.) |