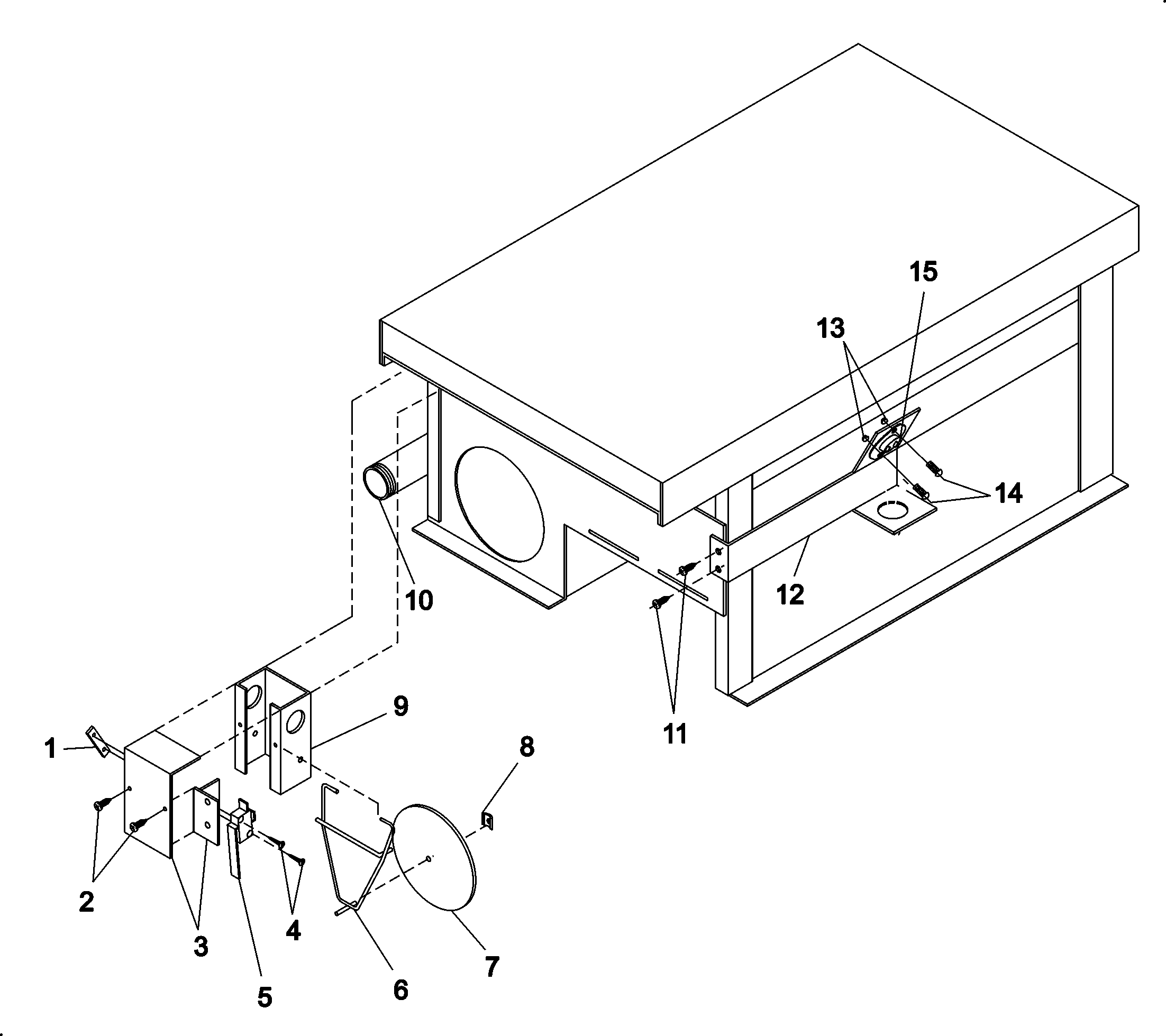
MDG30PCCWW 14 – SAIL SWITCH/HI-LIMIT