MDG30PN3AW 05 – CABINET
Products
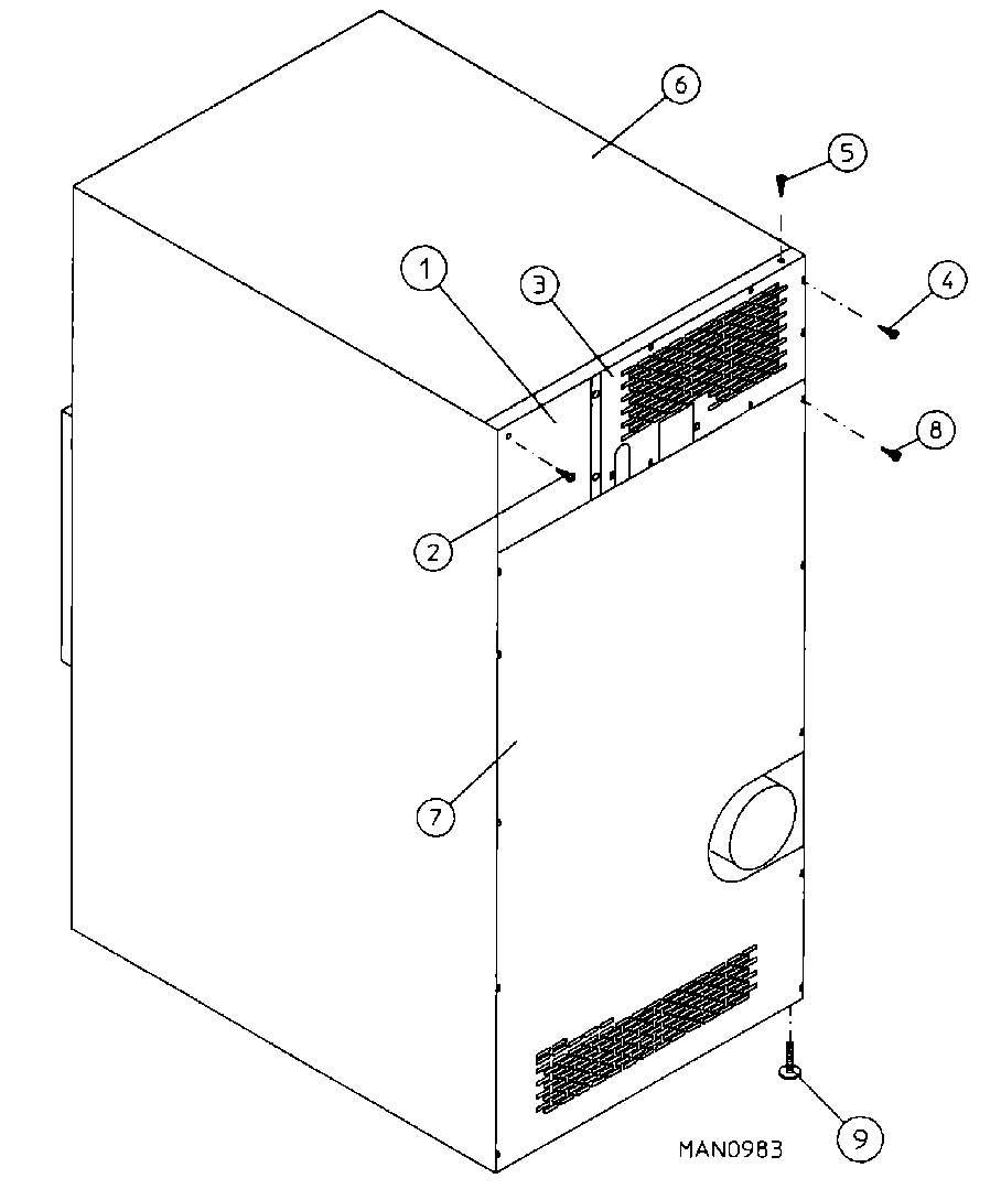
| Position | Product |
|---|---|
| 000 | NOT REQUIRED PART OR SEE NOTE FUSE (NOT REQUIRED) |
| 001 | MAY A322809 |
| 003 | MAY A330077 |
| 006 | MAY A312510 |
| 007 | MAY A314513 |
| 008 | MAY A150301 |
| 009 | MAY A103500 |
MDG30PN3AW 05 – CABINET
| Position | Product |
|---|---|
| 000 | NOT REQUIRED PART OR SEE NOTE FUSE (NOT REQUIRED) |
| 001 | MAY A322809 |
| 003 | MAY A330077 |
| 006 | MAY A312510 |
| 007 | MAY A314513 |
| 008 | MAY A150301 |
| 009 | MAY A103500 |