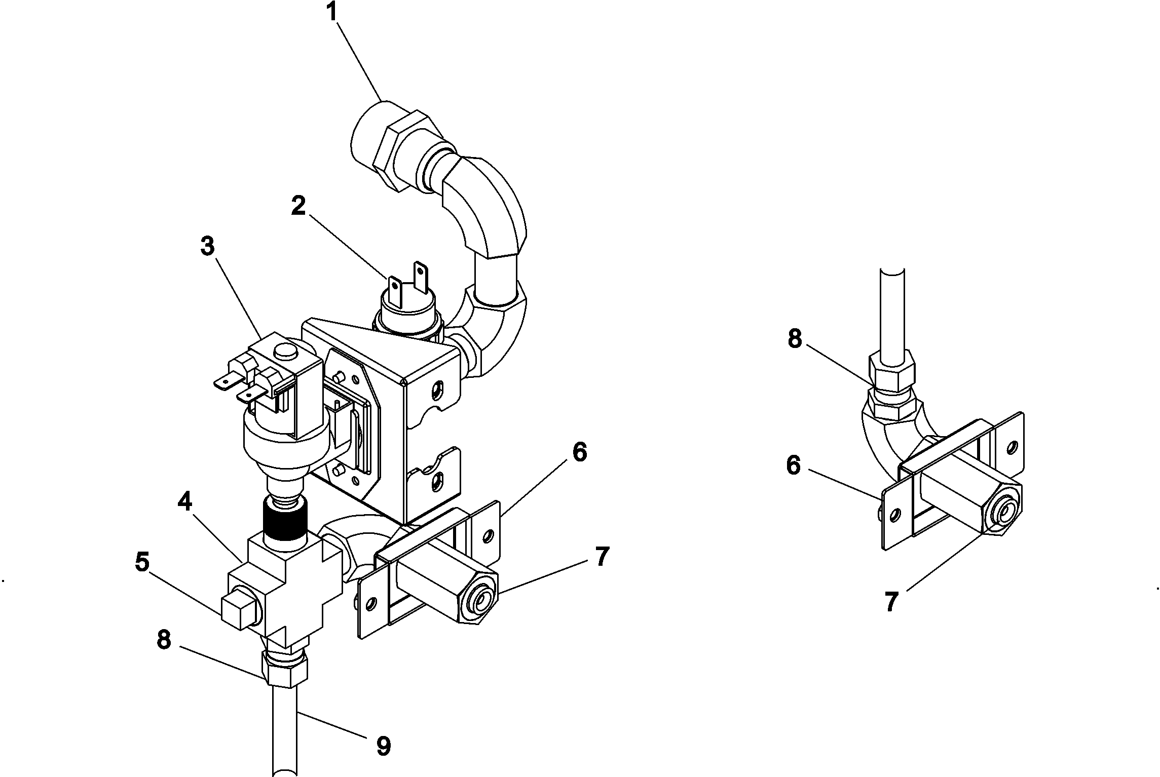
MDG31PDSWW 08 – SAFE SYSTEM ASSEMBLY
Products
| Position | Product |
|---|---|
| 001 | MAY A143025 |
| 002 | MAY A136987 |
| 003 | MAY A165120 |
| 004 | MAY A143236 |
| 005 | MAY A143251 |
| 006 | MAY A318422 |
| 007 | MAY A143581 |
| 008 | MAY A143208 |
| 009 | MAY A143099 |
MDG31PDSWW 08 – SAFE SYSTEM ASSEMBLY
| Position | Product |
|---|---|
| 001 | MAY A143025 |
| 002 | MAY A136987 |
| 003 | MAY A165120 |
| 004 | MAY A143236 |
| 005 | MAY A143251 |
| 006 | MAY A318422 |
| 007 | MAY A143581 |
| 008 | MAY A143208 |
| 009 | MAY A143099 |