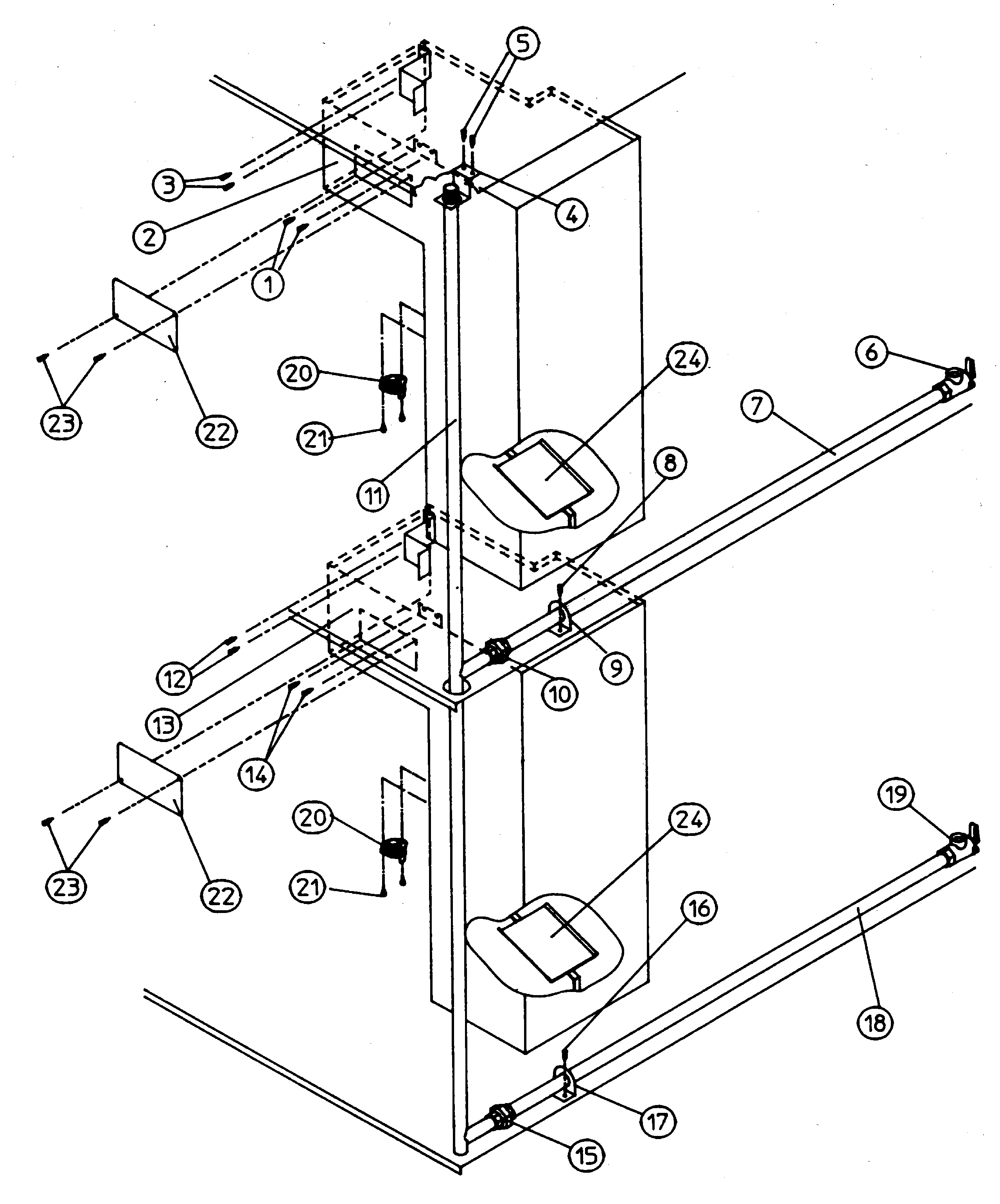
MDG32PC2AL 18 – BURNER BOX/PIPING ASSEMBLIES
Products
| Position | Product |
|---|---|
| 000 | NOT REQUIRED PART OR SEE NOTE FUSE (NOT REQUIRED) |
| 004 | MAY A318702 |
| 011 | MAY A142821 |
| 013 | MAY A880121 |
| 014 | MAY A150301 |
| 015 | MAY A142600 |
| 017 | MAY A318700 |
| 018 | MAY A142823 |
| 019 | MAY A141305 |
| 020 | MAY A130401 |
| 022 | MAY A318065 |
| 023 | MAY A150300 |
| 024 | MAY A850912 |