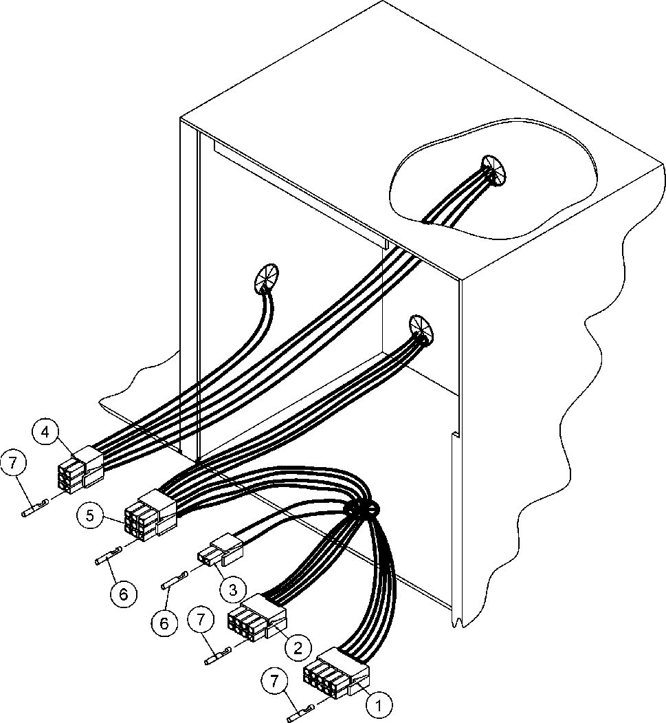
MDG50PNHWQ 03 – CONTROL BOX (MICROPROCESSOR)
Products
| Position | Product |
|---|---|
| 000 | ORDER PART FROM AMERICAN DRYER No.508-678-9000 |
| 001 | MAY A122681 |
| 002 | MAY A122676 |
| 003 | MAY A122646 |
| 004 | MAY A122683 |
| 005 | MAY A122640 |
| 006 | SOCKETS (AS REQUIRED) |
| 007 | MAY A122669 |
MDG50PNHWQ 03 – CONTROL BOX (MICROPROCESSOR)
| Position | Product |
|---|---|
| 000 | ORDER PART FROM AMERICAN DRYER No.508-678-9000 |
| 001 | MAY A122681 |
| 002 | MAY A122676 |
| 003 | MAY A122646 |
| 004 | MAY A122683 |
| 005 | MAY A122640 |
| 006 | SOCKETS (AS REQUIRED) |
| 007 | MAY A122669 |