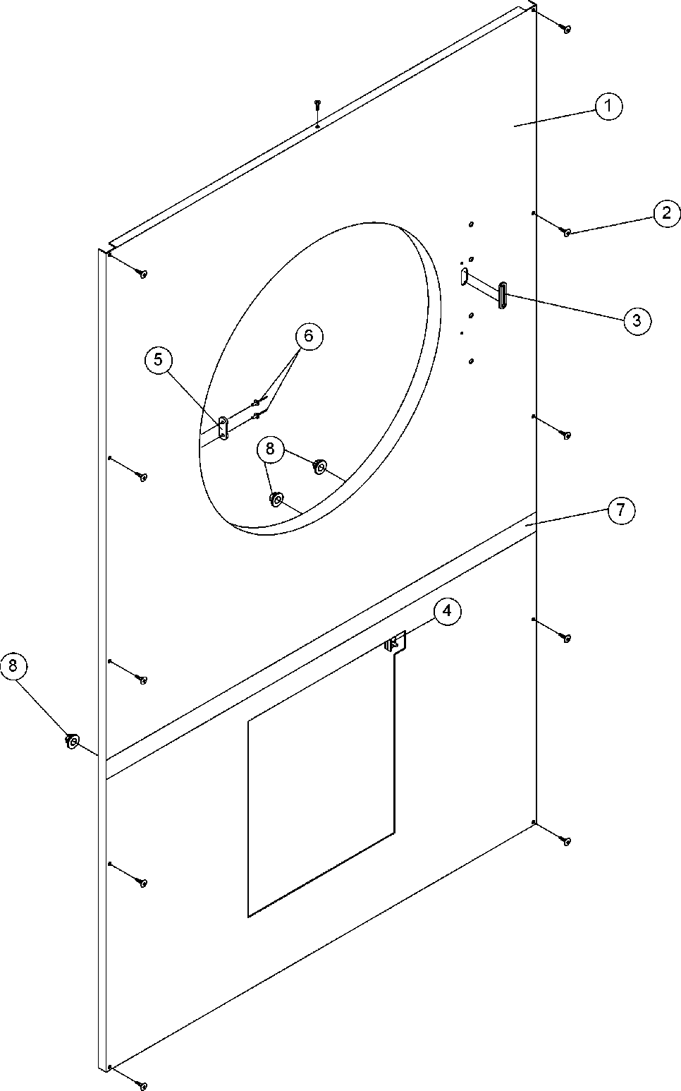
MDG50PNTVW 04 – FRONT PANEL
Products
| Position | Product |
|---|---|
| 000 | ORDER PART FROM AMERICAN DRYER No.508-678-9000 |
| 001 | MAY A883516 |
| 001 | MAY A883515 |
| 002 | SCREW, CRIMPTITE |
| 003 | GROMMET, RUBBER |
| 004 | MAY A122116 |
| 005 | MAY A170330 |
| 006 | MAY A154215 |
| 007 | MAY A883482 |
| 008 | MAY A152014 |