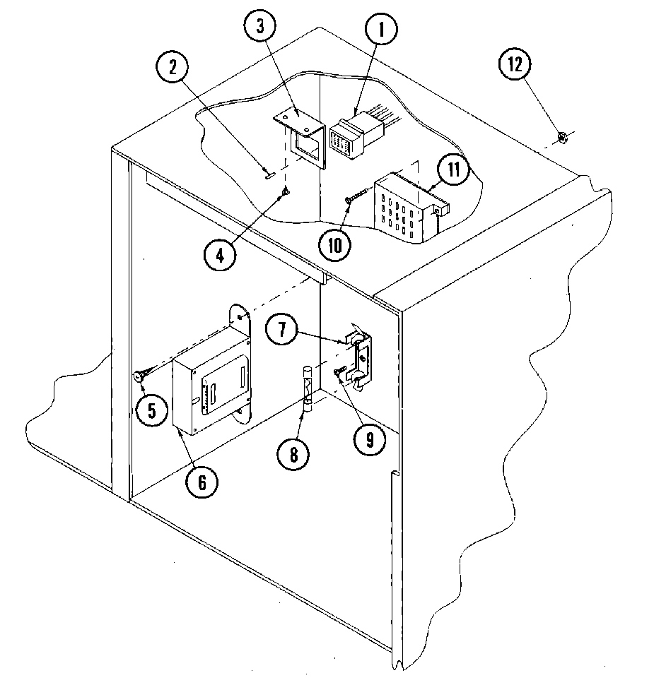
MDG75MNAWW 15 – CONTROL BOX ASSEMBLY (MN)
Products
| Position | Product |
|---|---|
| 000 | NOT REQUIRED PART OR SEE NOTE FUSE (NOT REQUIRED) |
| 001 | MAY A122603 |
| 002 | MAY A122701 |
| 002 | MAY A122801 |
| 003 | MAY A315010 |
| 005 | MAY A150300 |
| 006 | MAY A132070 |
| 007 | MAY A136008 |
| 008 | MAY A136057 |
| 009 | MAY A150301 |
| 010 | MAY A150002 |
| 011 | MAY A120715 |
| 012 | MAY A151000 |