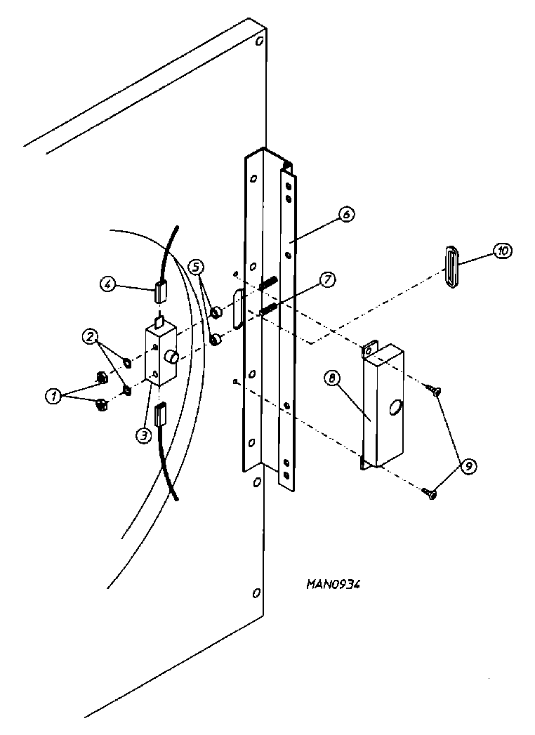
MDG75PN2VW 08 – MAIN DOOR SWITCH HOUSING
Products
| Position | Product |
|---|---|
| 000 | NOT REQUIRED PART OR SEE NOTE FUSE (NOT REQUIRED) |
| 001 | MAY A152013 |
| 002 | MAY A153008 |
| 003 | SWITCH, DOOR (SINGLE POLE) |
| 004 | MAY A121028 |
| 005 | MAY A154281 |
| 006 | MAY A800448 |
| 007 | MAY A153565 |
| 008 | MAY A313218 |
| 009 | MAY A150201 |
| 010 | GROMMET, RUBBER |