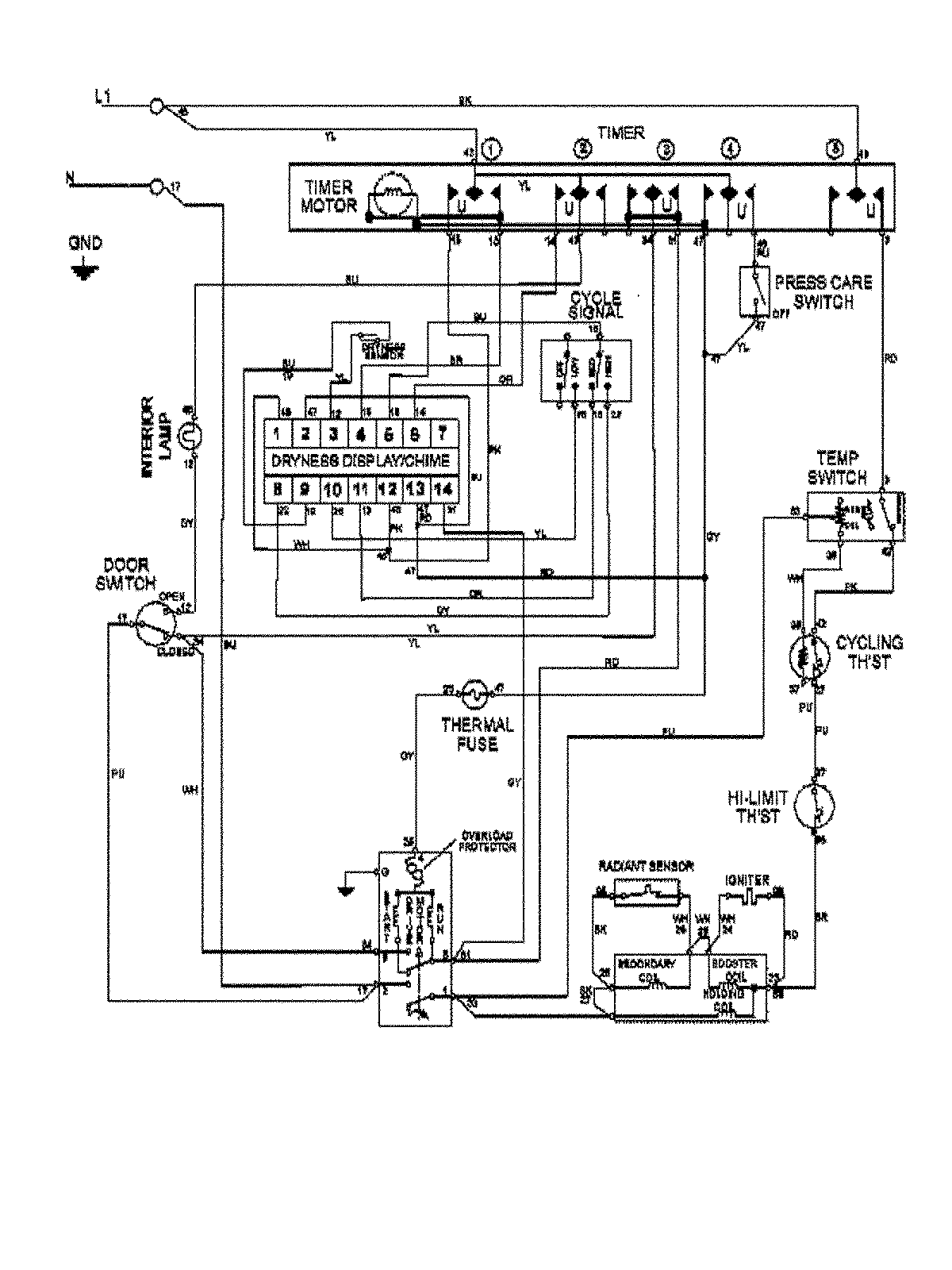
MDG8400AWW 10 – WIRING INFORMATIONadmin2025-04-26T09:22:16+00:00MDG8400AWW 10 – WIRING INFORMATION ProductsPositionProduct1MAY 15003368