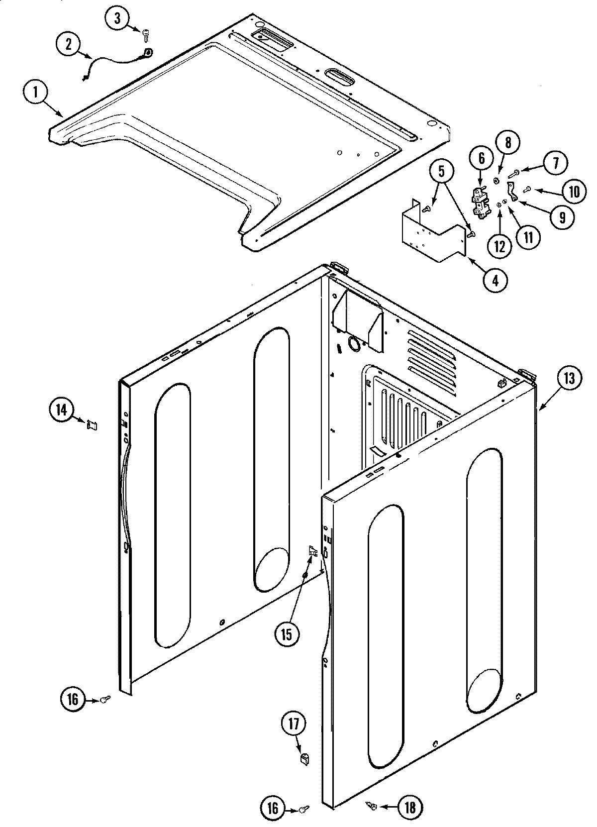
MDG9706AWA 01 – CABINETadmin2025-04-26T09:23:51+00:00MDG9706AWA 01 – CABINET ProductsPositionProduct1MAY 330019062MAY 330018593MAY 21018613MAY 3300189814WP22002049 Whirlpool Washer/Dryer Clip15MAY 21328016W11573574 Whirlpool Screw17MAY Y31037618213007 Whirlpool Screw #12