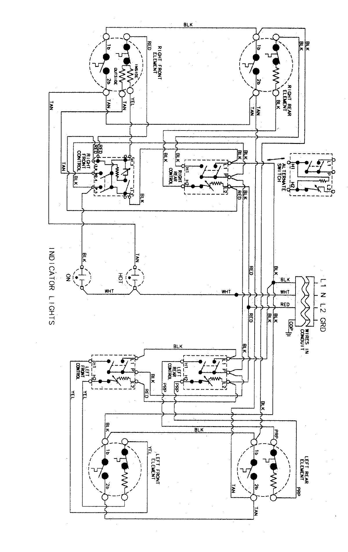
MEC5430BDS 03 – WIRING INFORMATION

MEC5430BDS 03 – WIRING INFORMATION

Products

PositionProduct
NIMAY 15003183