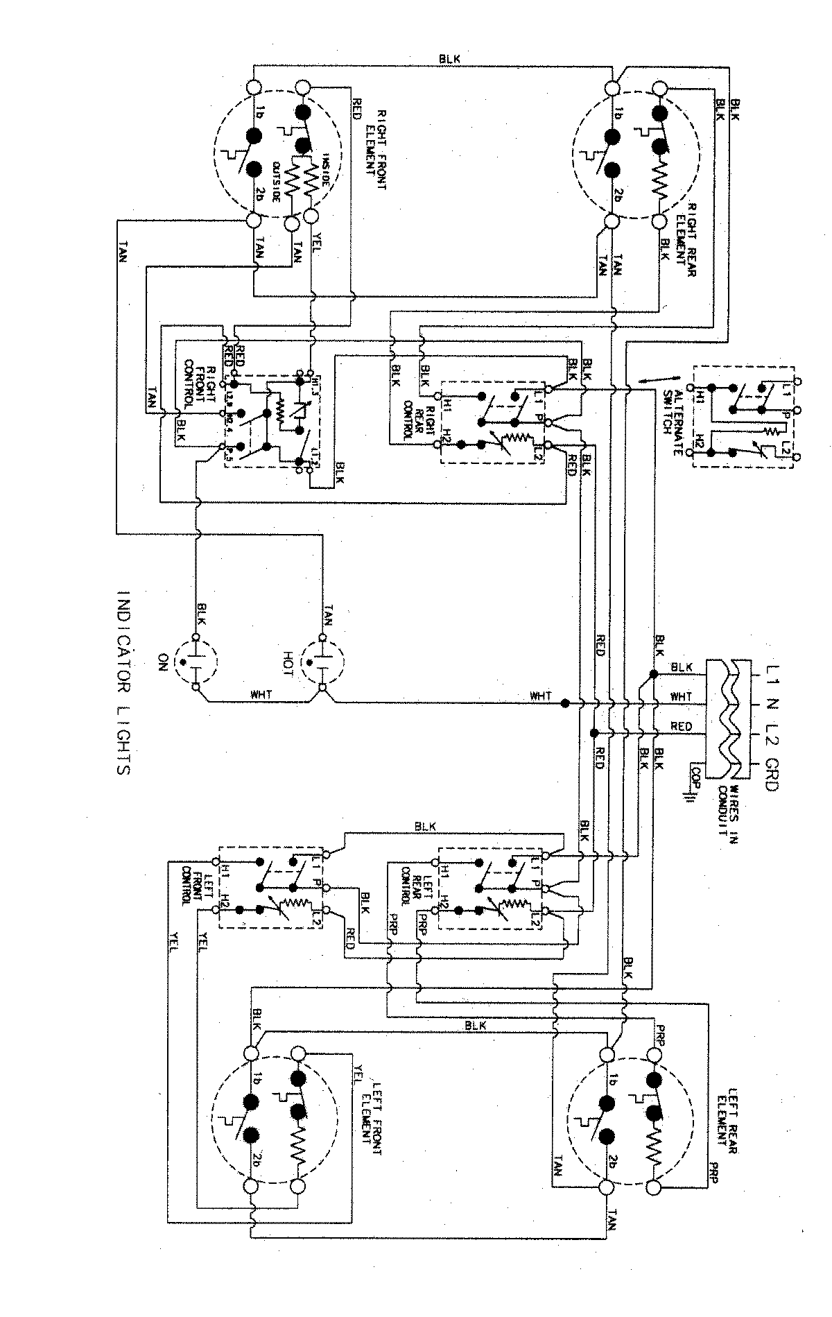
MEC5430BDW 03 – WIRING INFORMATIONadmin2025-04-26T09:25:30+00:00MEC5430BDW 03 – WIRING INFORMATION ProductsPositionProductNIMAY 15003183