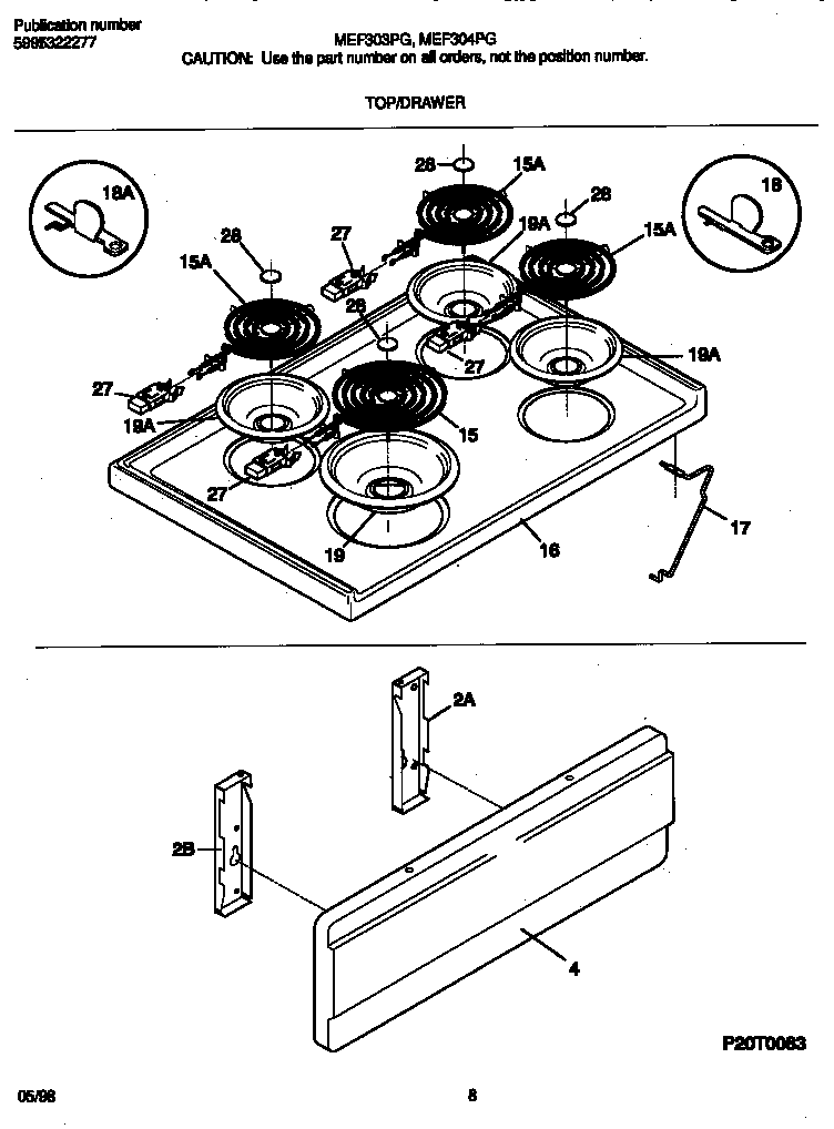
MEF304PGWD 04 – TOP/DRAWERadmin2025-04-26T11:56:44+00:00MEF304PGWD 04 – TOP/DRAWER ProductsPositionProduct*387815308014215 Frigidaire Oven Screw*38773Screw,cup pt ,8-18 x 0.375 ,chrome*38774316021109 Frigidaire Oven Screw*38780WCI 5303280311*38777WCI 3160896001DRAWER-UTILITY2SHIELD-PNL4WCI 31608440573051163 Frigidaire Oven Range Rear Broiler Drawer Glide15316442300 Frigidaire Oven 2100W Coil Element 815318372210 Frigidaire Oven Range 6" 1250W Surface Element16WCI 305137917WCI 31606690018BRACKET-HINGE,MAIN TOP LH18BRACKET-HINGE,MAIN TOP RH19316048414 Frigidaire Oven Range Chrome 6" Drip Bowl19316048413 Frigidaire Oven Range Chrome 8" Drip Bow275303935058 Frigidaire Oven Burner Receptacle Kit285303017715 Frigidaire Medallion