| *43897 | SCREW, CR PAN HD SEMS, 8-32BP X 1.00 |
| *43900 | 5303285179 Frigidaire Oven Door Screw |
| *43898 | 5303271648 Frigidaire Oven Screw |
| *43899 | WCI 5303280311 |
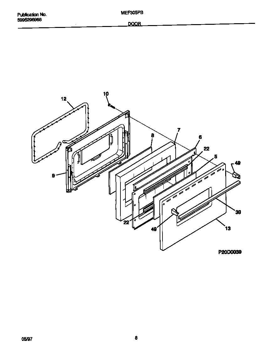
| 6 | WCI 316091402 |
| 7 | WCI 316076401 |
| 9 | WCI 316066611 |
| 10 | SCREW-HANDLE MTG, WAFER HEAD, 10-24(F) X 3 |
| 12 | 5303202011 Frigidaire Door Seal |
| 13 | PANEL, OVEN DOOR, WHITE |
| 39 | HANDLE-DOOR, OVEN |
| 49 | 316137003 Frigidaire Range / Cooktop End Cap |