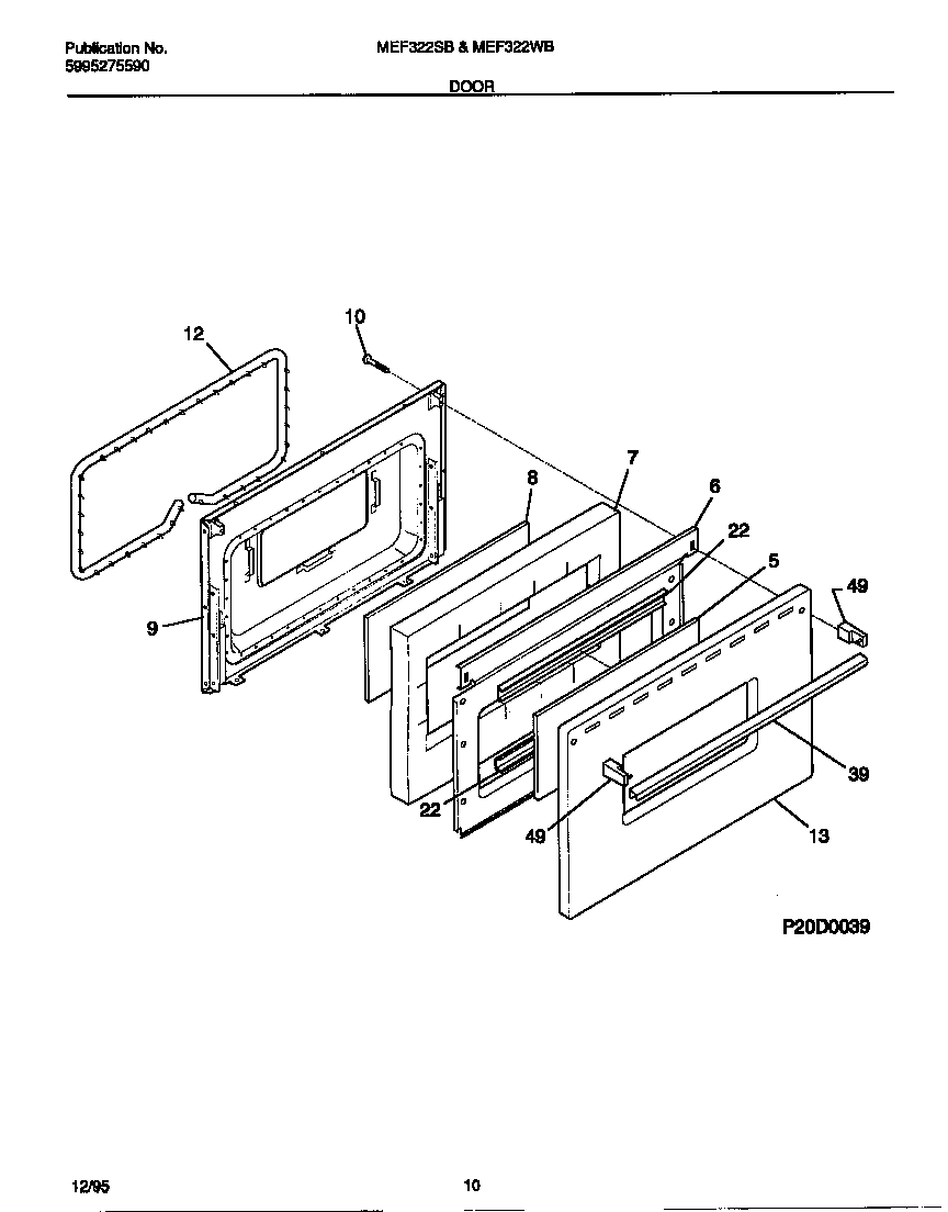
MEF322WBSE 06 – DOOR