| *77692 | SCREW, CR PAN HD SEMS, 8-32BP X 1.00 |
| *77695 | 5303285179 Frigidaire Oven Door Screw |
| *77693 | 5303271648 Frigidaire Oven Screw |
| *77694 | WCI 5303280311 |
| *77696 | 131243700 Frigidaire Screw |
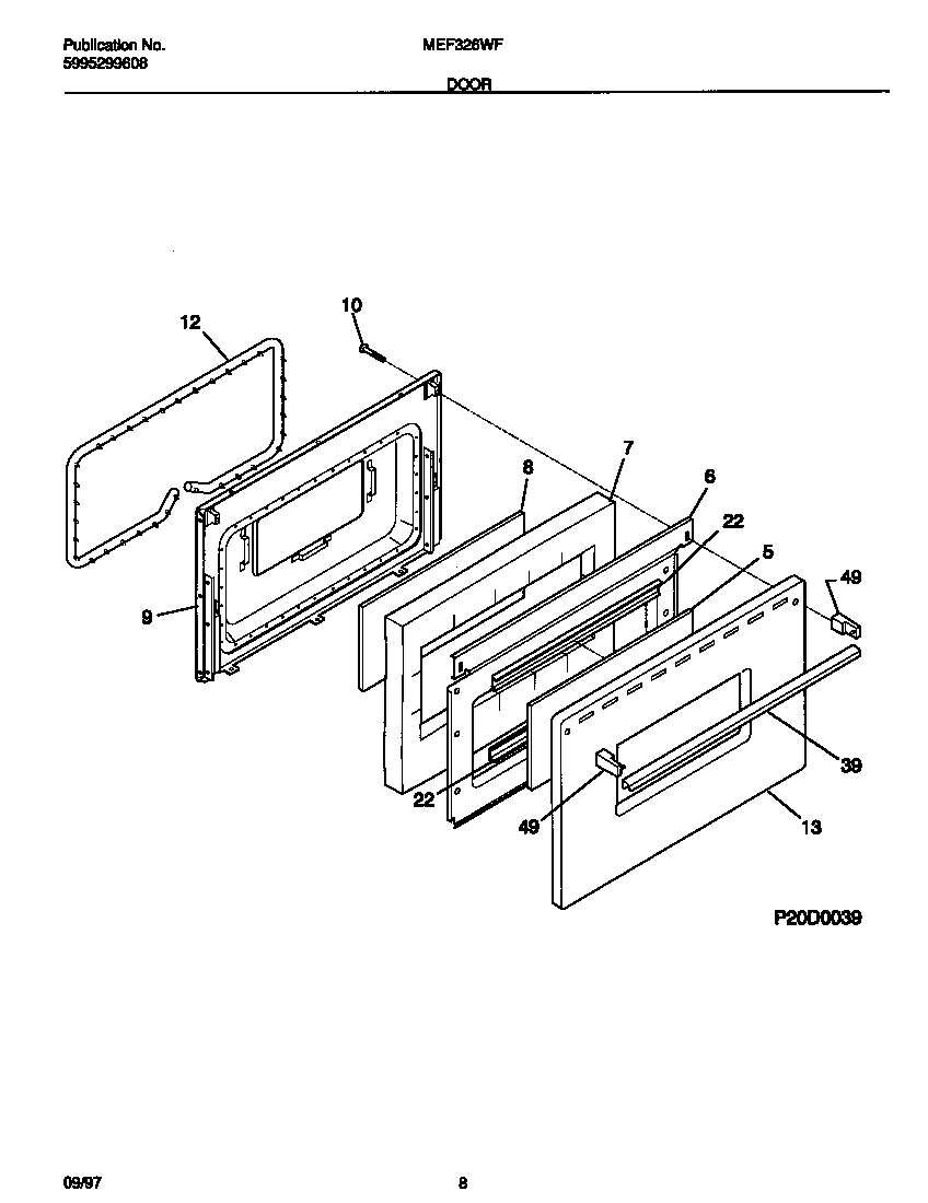
| 5 | WCI 316050300 |
| 6 | WCI 316088403 |
| 7 | WCI 316076401 |
| 8 | GLASS-OVEN DOOR, AIRWASH |
| 9 | WCI 316066610 |
| 10 | SCREW-HANDLE MTG, WAFER HEAD, 10-24(F) X 3 |
| 12 | 5303202011 Frigidaire Door Seal |
| 13 | PANEL, OVEN DOOR, WHITE |
| 22 | Retainer,glass ,(2) ,angle |
| 39 | 316020202 Frigidaire Door Handle Assembly |
| 39 | 316008401 Frigidaire Washer P-1 |
| 49 | WCI 316020101 |