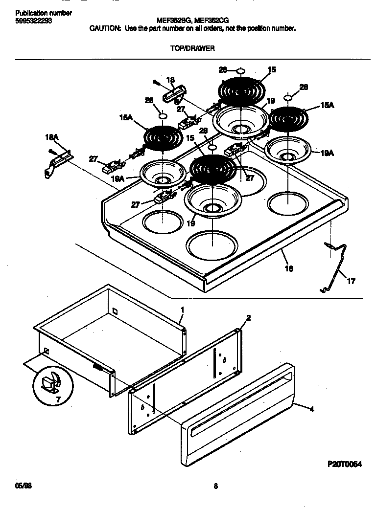
MEF352BGDD 04 – TOP/DRAWERadmin2025-04-26T09:17:37+00:00MEF352BGDD 04 – TOP/DRAWER ProductsPositionProduct*39778316058601 Frigidaire Oven Clip*39773WCI 316001725*39779WCI 316089600*39782SCREW, HEX WASHER HEAD, 8-18(AB) X 1/2 (NOT ILLUSTRATED)*39780WCI 5303280311*397815308014215 Frigidaire Oven Screw*39774Screw,cup pt ,8-18 x 0.375 ,chrome*39775316021109 Frigidaire Oven Screw1DRAWER-UTILITY2SHIELD-PNL4WCI 31608440673051163 Frigidaire Oven Range Rear Broiler Drawer Glide155308011964 Frigidaire Surface Element P115WCI 31611540016WCI 31602090817316057601 Frigidaire Oven Rod18HINGE-MAIN TOP (LH)18HINGE-MAIN TOP (RH)19L304430992 Frigidaire 6" Drip Bowl Chrome FM19316048413 Frigidaire Oven Range Chrome 8" Drip Bow275303935058 Frigidaire Oven Burner Receptacle Kit