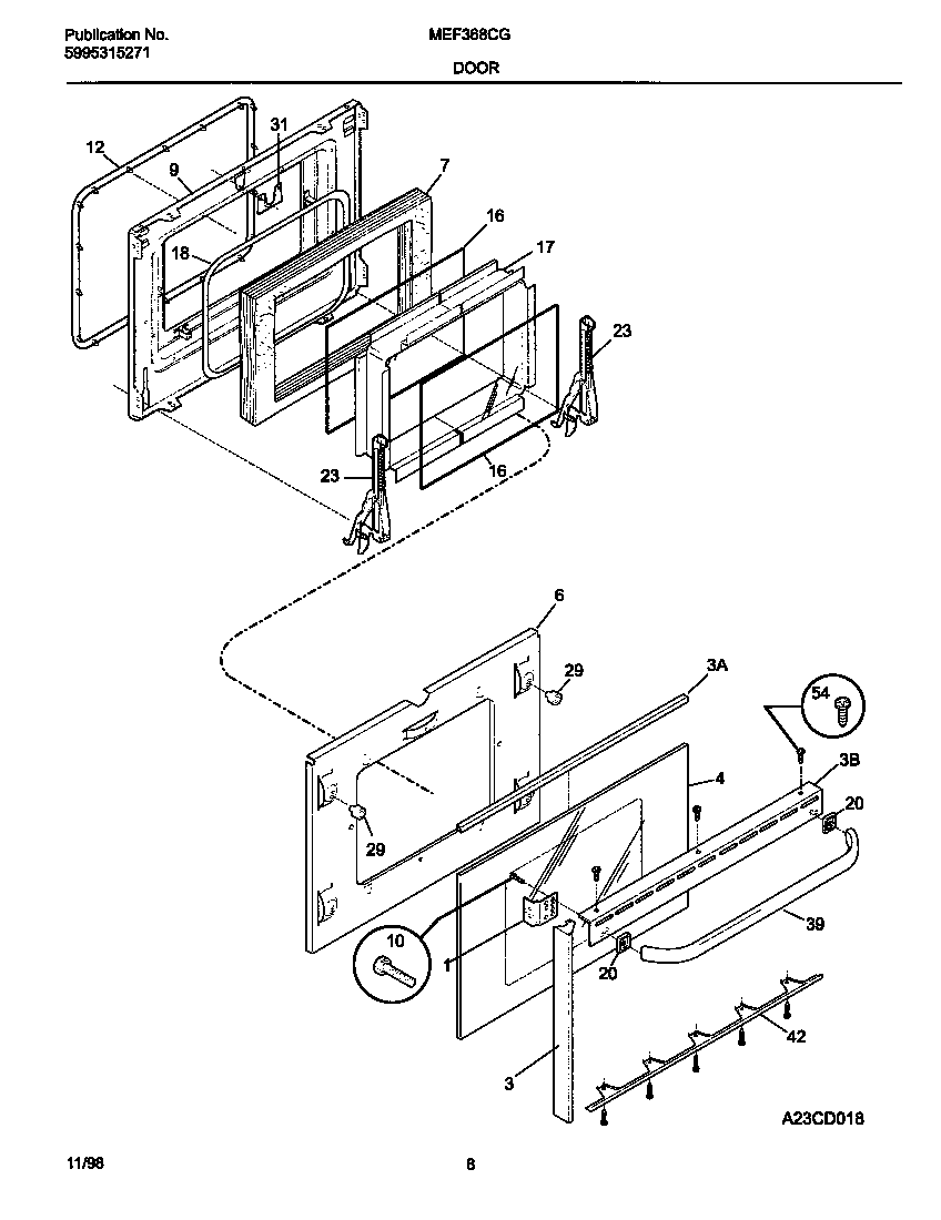
MEF368CGS2 05 – DOOR