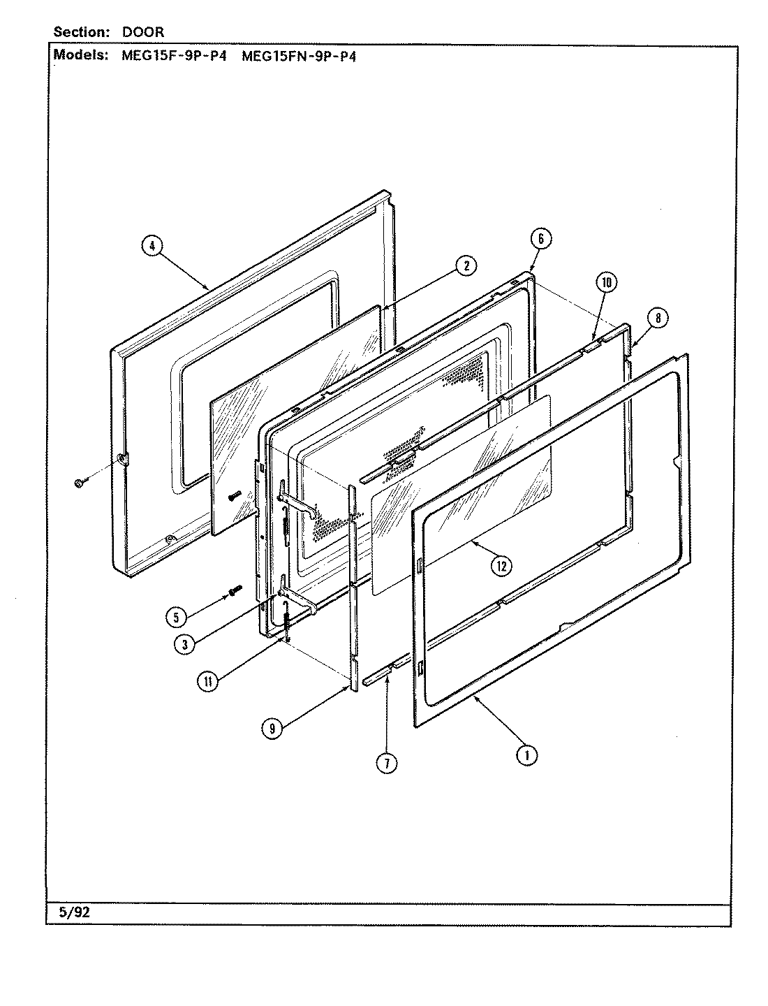
MEG15F-9P-P4 03 – DOORadmin2025-04-26T09:24:32+00:00MEG15F-9P-P4 03 – DOOR ProductsPositionProduct1MAY 021001412MAY 022201182MAY Y022200993MAY 021900624MAY 021002555MAY Y030700406MAY 040212637MAY Y021201628MAY Y021201609MAY Y0212015910MAY Y0212016111MAY 0318003212MAY 0222010312MAY Y03020087