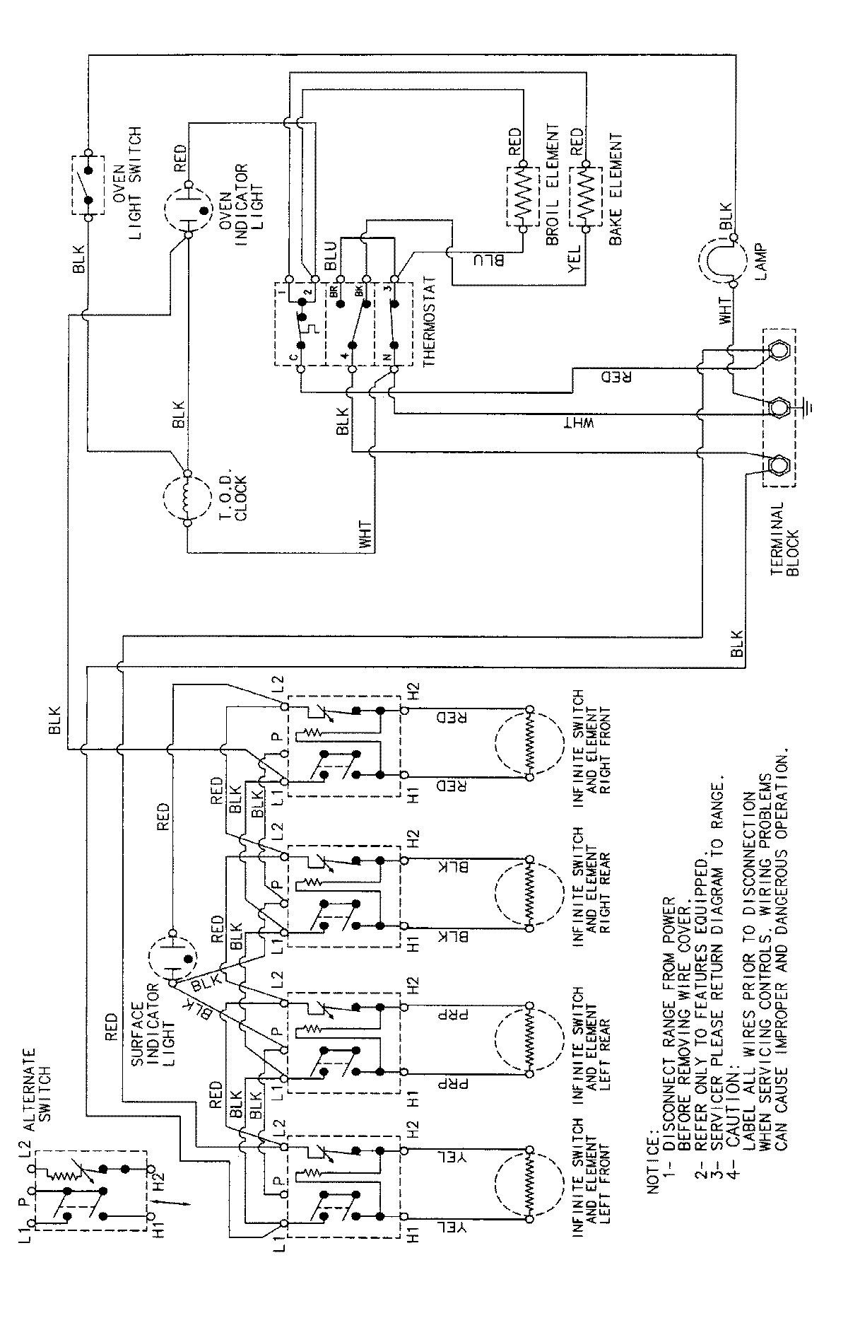
MER4320AAA 06 – WIRING INFORMATIONadmin2025-04-26T09:24:07+00:00MER4320AAA 06 – WIRING INFORMATION ProductsPositionProductNIMAY 15002214