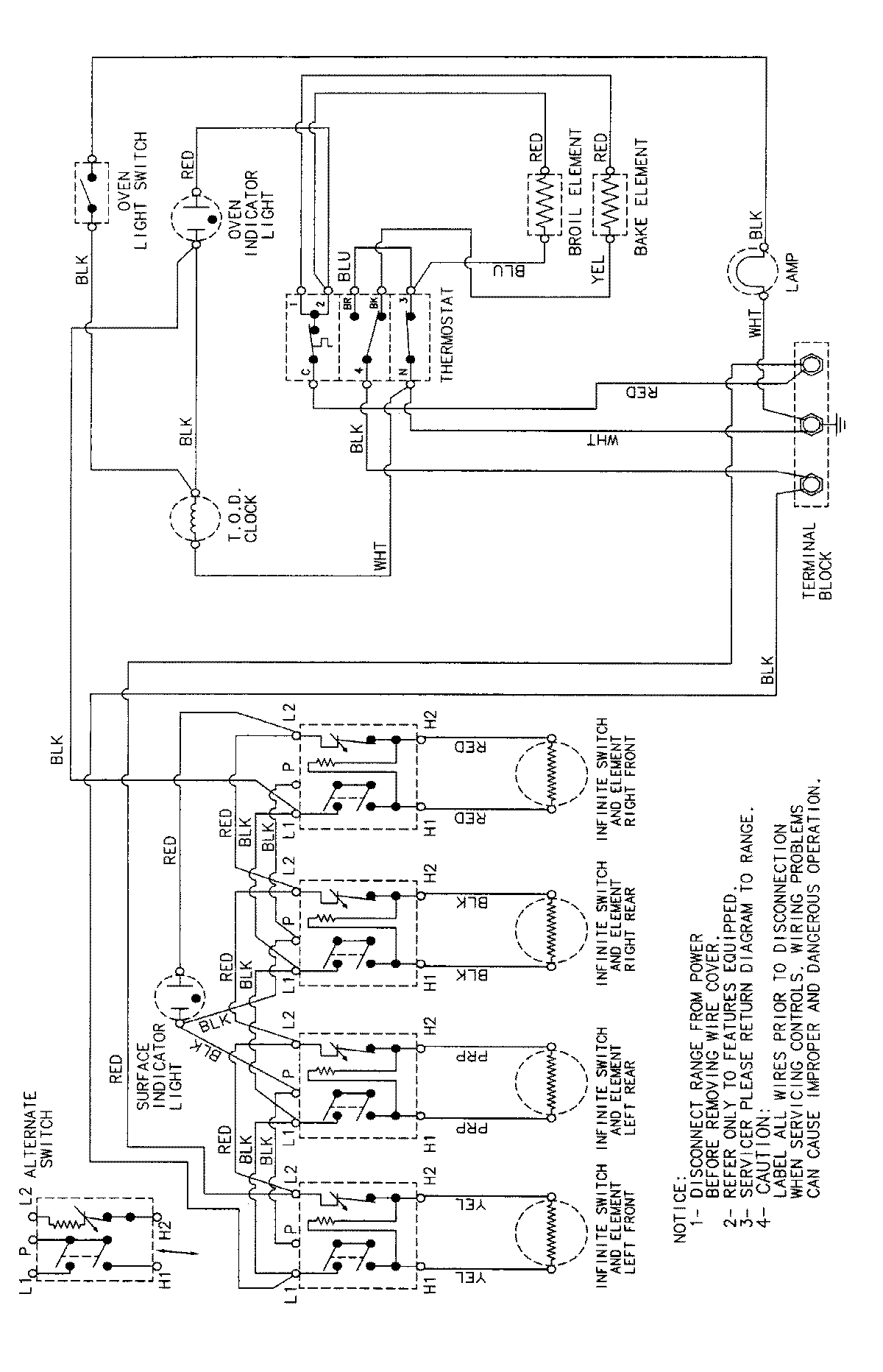
MER4326AAW 06 – WIRING INFORMATIONadmin2025-04-26T09:24:42+00:00MER4326AAW 06 – WIRING INFORMATION ProductsPositionProductNIMAY 15002214