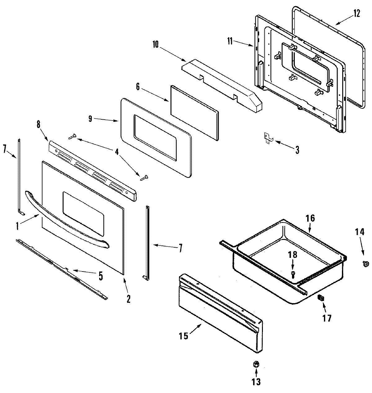
MER4351AAQ 03 – DOOR/DRAWERadmin2025-04-26T09:26:28+00:00MER4351AAQ 03 – DOOR/DRAWER ProductsPositionProduct1MAY 740091851MAY 740111072MAY 7400972833801F832-45 Whirlpool Bracket33801F831-45 Whirlpool Bracket Assembly4WP74006515 Whirlpool Washer Screw4WP98008545 Whirlpool Screw5SUPPORT, GLASS (BSQ)5SCREW6MAY 740020027TRIM, DOOR (BSQ-RT)7TRIM, DOOR (BSQ-LT)7WP74009014 Whirlpool Double Tape8MAY 740096919MAY 740024619MAY 7101P209-6010MAY 7400245811MAY 7400509712WP7212P043-60 Whirlpool Oven Door Seal Gasket13WPW10131078 Whirlpool Nut Assembly14SHAFT, STORAGE DRAWER ROLLER14WP74004078 Whirlpool Door Roller14WP488130 Whirlpool Air Conditioner Nut15MAY 7400505516MAY 7100304217MAY 74001663