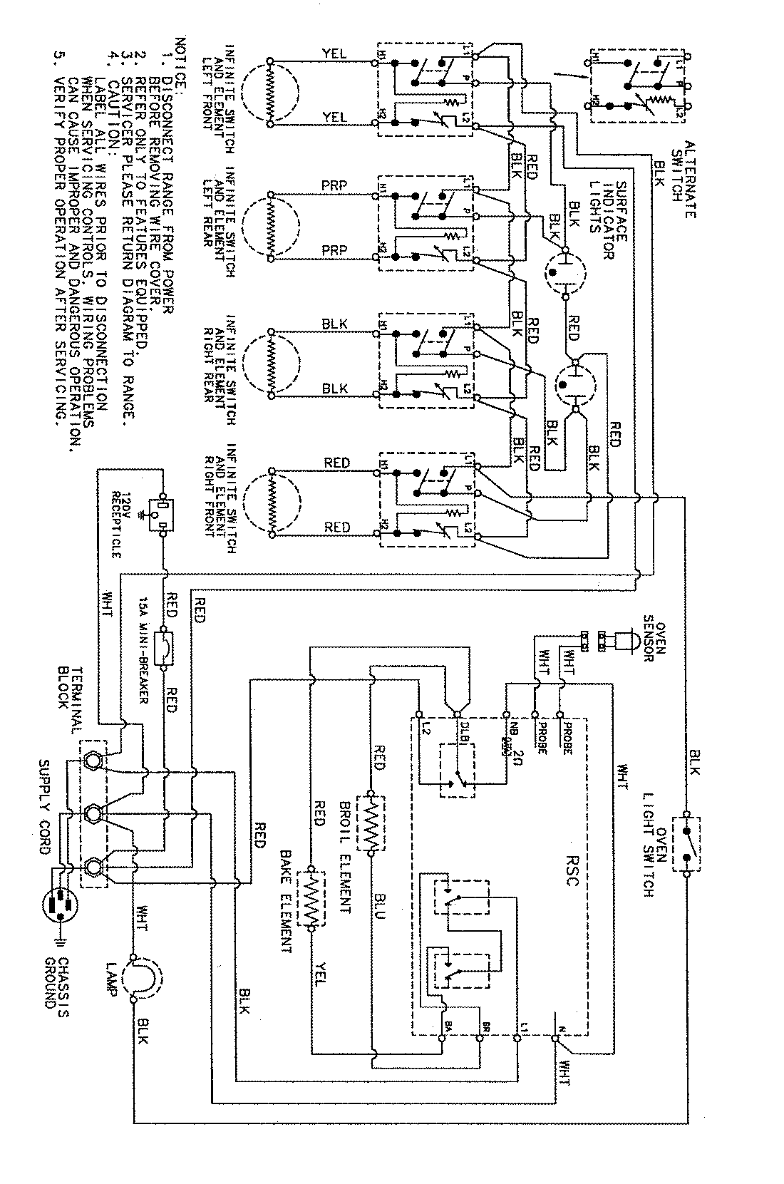
MER4530BCW 06 – WIRING INFORMATION

MER4530BCW 06 – WIRING INFORMATION

Products

PositionProduct
NIMAY 15002697