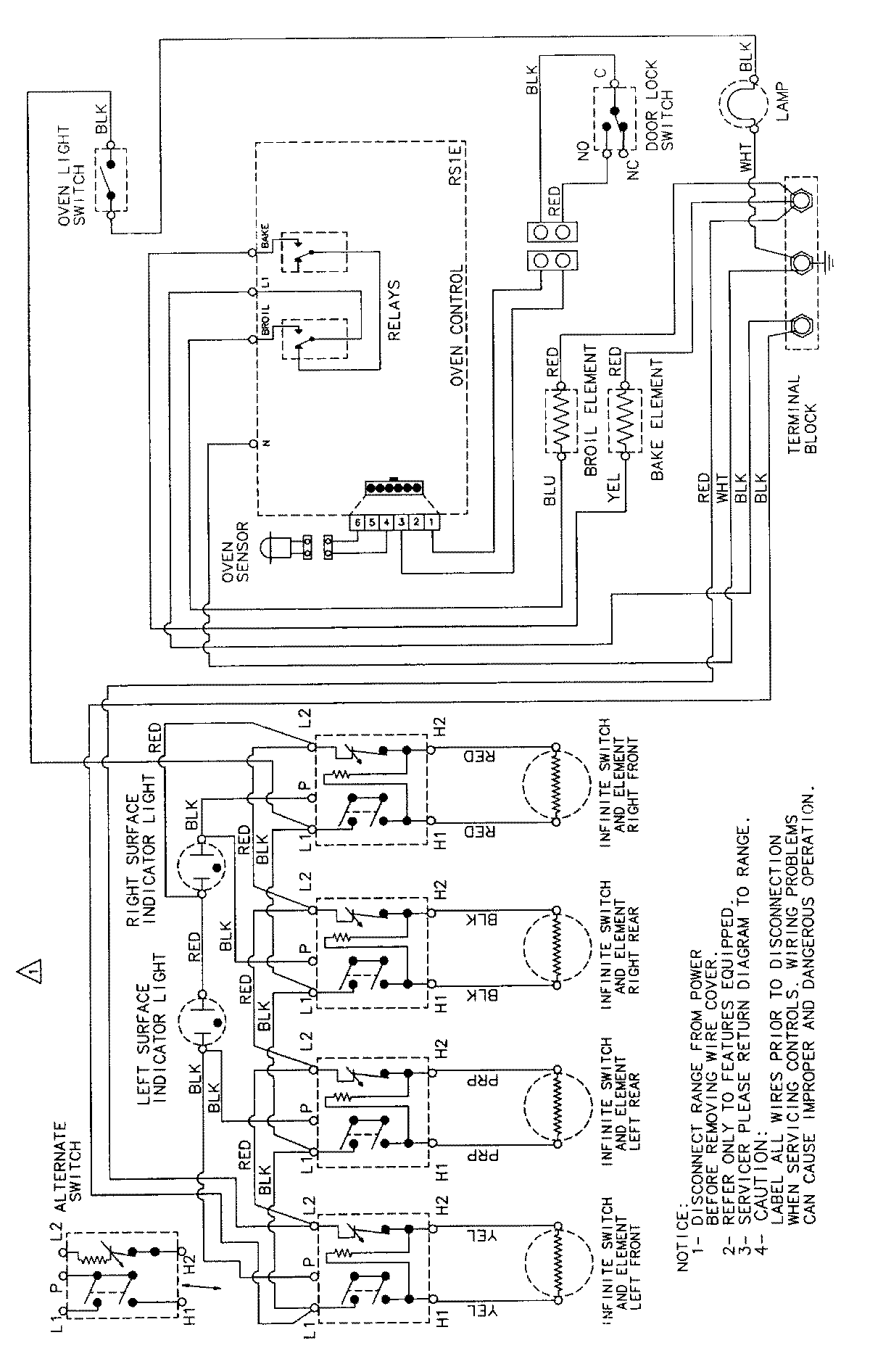
MER5510BAW 06 – WIRING INFORMATIONadmin2025-04-26T09:26:05+00:00MER5510BAW 06 – WIRING INFORMATION ProductsPositionProductNIMAY 15002263