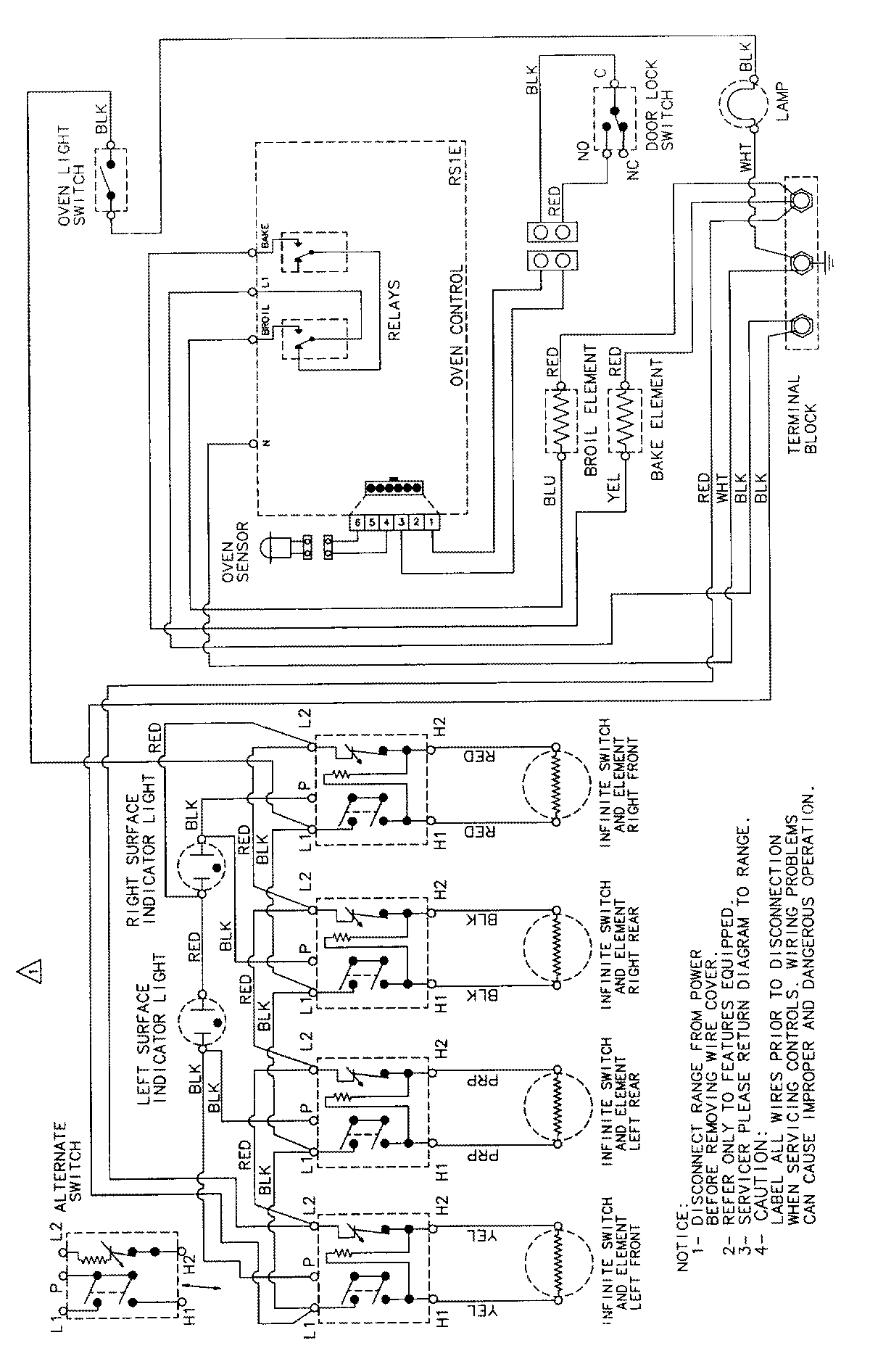
MER5511BAW 06 – WIRING INFORMATIONadmin2025-04-26T09:09:31+00:00MER5511BAW 06 – WIRING INFORMATION ProductsPositionProductNIMAY 15002263