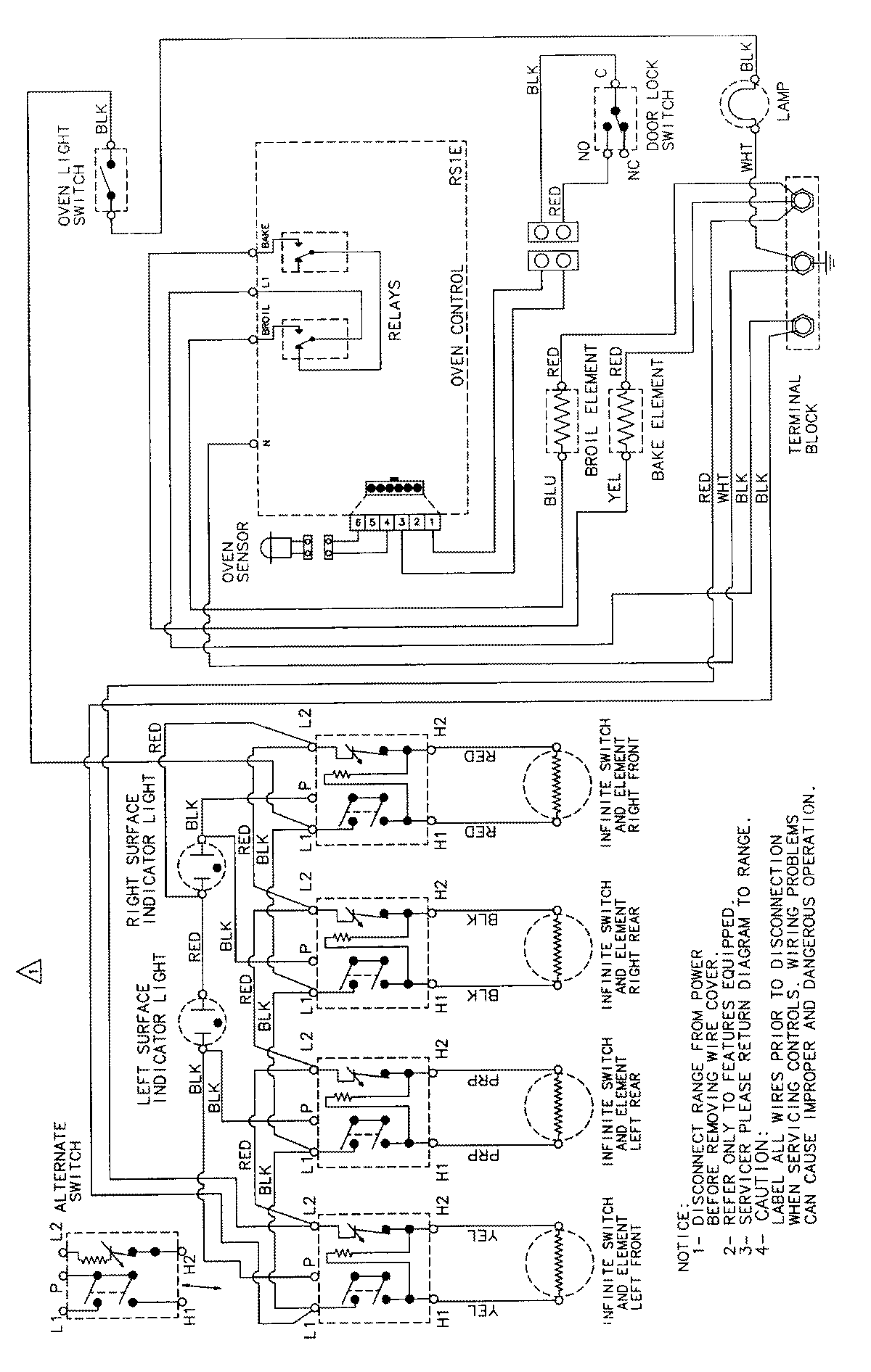
MER5530AAL 06 – WIRING INFORMATIONadmin2025-04-26T09:11:28+00:00MER5530AAL 06 – WIRING INFORMATION ProductsPositionProductNIMAY 15002263