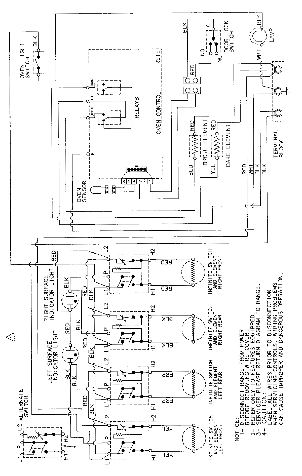
MER5530AAT 06 – WIRING INFORMATIONadmin2025-04-26T09:10:12+00:00MER5530AAT 06 – WIRING INFORMATION ProductsPositionProductNIMAY 15002263