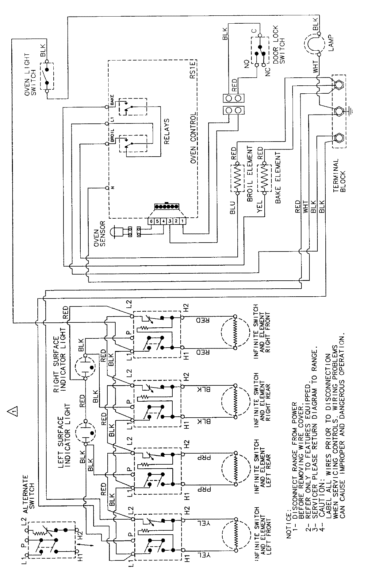
MER5530BAB 06 – WIRING INFORMATIONadmin2025-04-26T09:10:04+00:00MER5530BAB 06 – WIRING INFORMATION ProductsPositionProductNIMAY 15002263