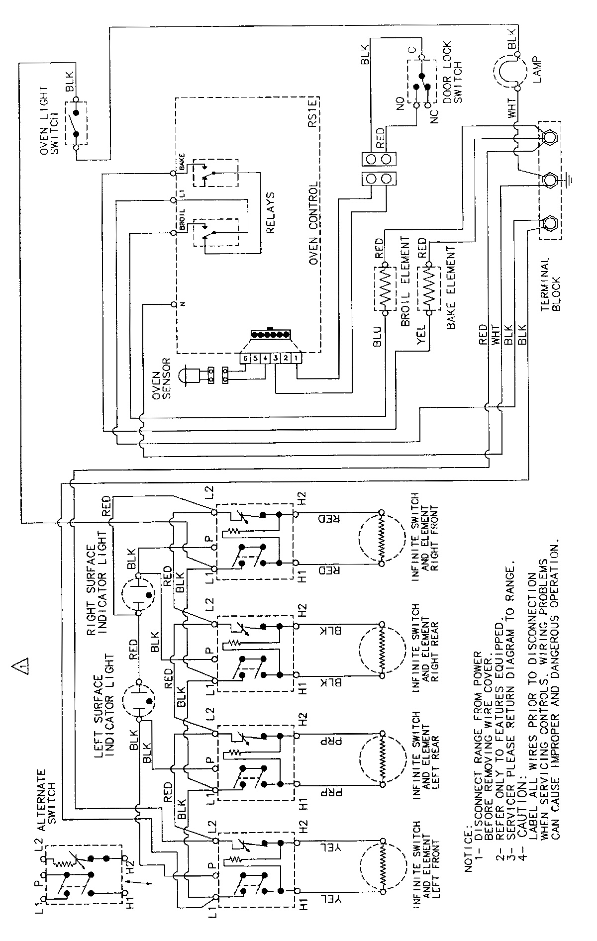
MER5530BAQ 06 – WIRING INFORMATIONadmin2025-04-26T09:08:30+00:00MER5530BAQ 06 – WIRING INFORMATION ProductsPositionProductNIMAY 15002263